Preparation For Test
Preliminary work: Diagnosis Diagnostic Trouble Code (DTC) Memory. DTCM - Diagnostic Trouble Code Memory
- Battery voltage 11 - 14 Volts (always connect battery charger when working on the soft top).
- Up to 9/95 fuses F1-f6, f8, F20-f1, f2, f3, f4 and f7 in order.
- As of 9/95 fuses F1 -f19, f20, F20-f1, f2, f3, f4, f7, f8 and f9 in order.
- RB control module must release soft top for operation (indicator lamp in RB switch should not blink).
If soft top does not release, see impulse counter DTC 5 or HHT 144.
NOTE regarding limit switch testing. Control module in diagnostic mode:
1. Ignition: OFF
2. Bridge sockets 1 and 3 of connector (X11/12) in passenger footwell see Figure 1 (only necessary when testing with socket box). Connector Locations
3. Ignition: ON
4. Remove bridge.
IMPORTANT NOTE
The power soft top control module has 2 different connection possibilities. Therefore, a separation in the section "Test Steps" is necessary.
Electrical Wiring Diagrams:
Refer to the applicable Wiring Diagram.
NOTE Regarding Testing With The HHT:
Actual values:
OPEN corresponds to 11 - 14 V.
CLOSE corresponds to 0 - 1 V.
As of 9/95
- The RB control module (N53) is integrated into the power soft top control module (N52).
- The hardtop locks front and rear simultaneously.
- The DTC memory can only be read and erased with the HHT.
WARNING: Danger of injury. When disconnecting the connector on the power soft top control module (N52) or when changing the position of control module N52, the roll bar is deployed!
Special Tools:
Conventional tools, test equipment
Multimeter Fluke - models 23, 83, 85, 87. Available through the MBNA standard Equipment Program.
Battery Charger.
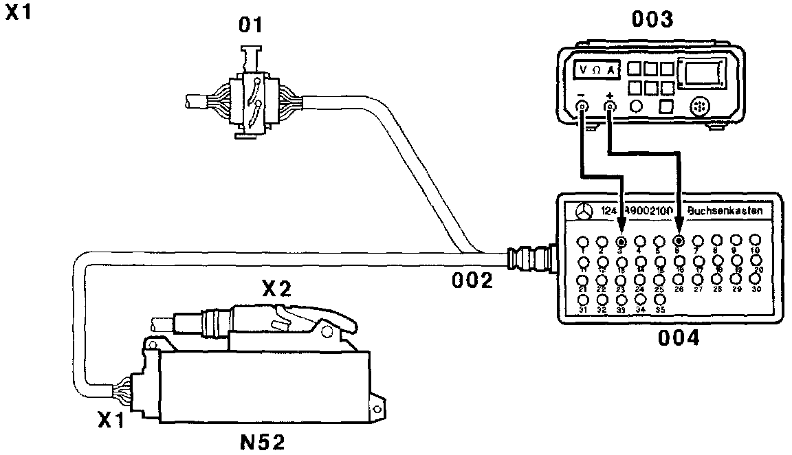
Connection Diagram - Socket Box to Connector (X1)
Ignition: OFF
Disconnect connector X1 from control module.
Connect socket box.
Figure 1:
01 Connector, 12-pole (vehicle wiring harness)
002 Test cable, 12-pole 129 589 01 63 00
003 Digital multimeter
004 Socket box (35-pole)
N52 Soft top control module
Connection Diagram - Socket Box to Connector (X2)
Ignition: OFF
Disconnect connector X2 from control module.
Connect socket box.
Figure 2:
01 Connector, 35-pole (vehicle wiring harness)
002 Test cable, 55-pole 104 589 00 63 00
003 Digital multimeter
004 Socket box (126-pole)
N52 Soft top control module