Curiosii for ever!: Car repair manuals for everyone.

Throttle Valve Switch Test


Equipment
Multimeter -- e.g. SUN DMM-5

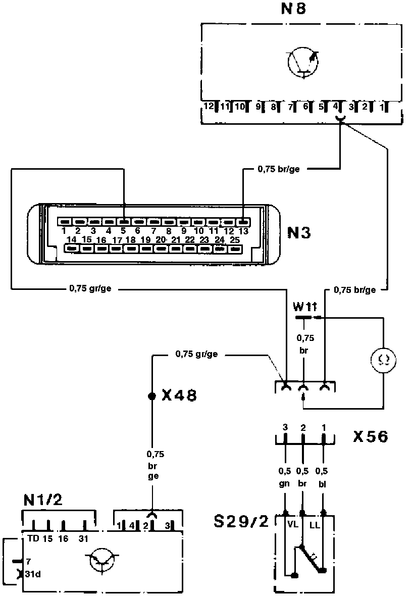
Wiring Diagram, Throttle Valve Switch:





N1/2 Electronic ignition control unit
N3 CIS-E control unit
N8 Idle speed control unit
S29/2 Throttle valve switch
W11 Ground, engine
X48 Connector sleeve (solder joint in harness)
X56 Connector, throttle valve switch

Test Page:





Fig. 1:





Fig. 2:





S29/2 Throttle valve switch, full load/idle
X56 Connector, throttle valve switch
1 Idle contact (LL)
2 Common
3 Full-load Contact (VL)