Curiosii for ever!: Car repair manuals for everyone.

Air Flow Sensor Position Indicator Test

Special Tools:





Equipment
Multimeter -- e.g. SUN DMM-5


Test Page 1:





Fig. 1:





Fig. 2:





Test Page 2:





Fig. 3:





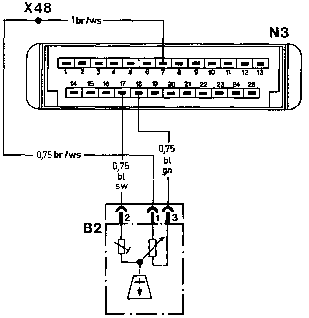
CIS-E Control Unit Plug:





B2 Air flow sensor position indicator
N3 CIS-E control unit
X48 Connector sleeve
(solder joint in harness)

Test Page 3: