Part 2 of 2
AIR BAG MODULE AND PRE-TENSIONER SEAT BELT DEPLOYMENT PROCEDURES [TWO-STEP DEPLOYMENT CONTROL SYSTEM] (Continued)
Passenger-side Air Bag Module
WARNING:
- The passenger-side air bag module is a dual inflator type. If one inflator is forced to operate (deploy), the other may operate (deploy) accidentally. To prevent injury while disposing of the air bag module, make sure to operate (deploy) both passenger-side air bag module inflators simultaneously, following the procedure below.
1. Remove the following parts:
a. Passenger-side front scuff plate Front Scuff Plate Removal/Installation
b. Passenger-side front side trim Front Side Trim Removal/Installation
c. Dashboard under cover Dashboard Under Cover Removal/Installation
d. Glove compartment Service and Repair
e. Passenger-side lower panel Lower Panel Removal/Installation
f. SIRIUS satellite radio unit (with SIRIUS satellite radio system) Service and Repair
g. Passenger-side air bag module Two-Step Deployment Control System
2. Disconnect the passenger-side air bag module connector.
3. Connect the SSTs (Adapter harness) to the passenger-side air bag module as shown in the figure.
4. Place the padded surface of the passenger-side air bag module facing the center of the tire as shown in the figure. To secure the air bag module to the tire wheel, wrap a wire (cross section 1.25 mm2{0.002 in2} or more) through the tire and the bolt installation holes at least 4 times as shown in the figure.
WARNING:
- If the air bag module is not properly secured to the tire, the tires may fall over by the impact of operation (deployment) and cause serious injury. To prevent this, secure the air bag module properly with the padded surface facing the center of the tire.
5. Stack the tire with the passenger-side air bag module on top of two tires without wheels. Stack a tire without a wheel on top of the tire with the passenger-side air bag module, and then stack another tire with a wheel on the very top.
6. Secure the tires with wire.
7. Connect the SSTs (Deployment tool) to the SSTs (Adapter harness).
8. Connect the SST (Deployment tool) to the battery. Connect the power supply red clip to the positive battery terminal, and the black clip to the negative battery terminal.
9. Verify that the red lamp on the SST (Deployment tool) is illuminated.
10. Verify that all persons are standing at least 6 m {20 ft} away from the vehicle.
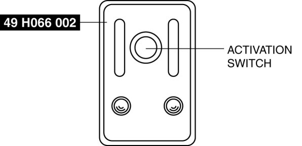
11. Press the activation switch on the SST (Deployment tool) connected with 49 L066 002 (a yellow connector) of the SST (Adapter harness), and after 3 s, press the activation switch on the other SST (Deployment tool) to operate (deploy) the air bag module (both inflators).
WARNING:
- Verify that air bag module operation (explosive) sound occurs twice. If no operation (explosive) sound was heard or a single operation (explosive) sound was heard, both inflators would not have operated (deployed) properly. This may cause serious injury if the air bag module operates (deploy) unexpectedly. If the two operation (explosive) sounds are not heard, perform Step 11 again. If a total of two operation (explosive) sounds cannot be verified even though Step 11 is performed again, leave the air bag module alone for 30 min or more before approaching it again.
- The air bag module is very hot immediately after it is operated (deployed). You can be burned. Do not touch the air bag module for at least 15 min after deployment.
12. Disconnect the SST (Deployment tool) from the SST (Adapter harness).
Side Air Bag Module
1. Remove the front seat. Removal and Replacement
2. Remove the front seat back trim and pad. Front Seat Back Trim Removal/Installation
3. Remove the side air bag module. Side Air Bag Module Removal/Installation
4. Connect the SST (Adapter harness) to the side air bag module as shown in the figure.
5. Put the side air bag module inside the tire and secure it to the tire by wrapping a wire (cross section of 1.25 mm2 {0.002 in2} or more) through the tire and the bolt at least 4 times.
WARNING:
- If the air bag module is not properly secured to the tire, the tires may fall over by the impact of operation (deployment) and cause serious injury. To prevent this, secure the air bag module properly with the padded surface facing the center of the tire.
6. Stack the tire with the side air bag module on top of two tires without wheels. Stack a tire without a wheel on top of the tire with the side air bag module, and then stack another tire with a wheel on the very top.
7. Secure the tires with wire.
8. Connect the SST (Deployment tool) to the SST (Adapter harness).
9. Connect the SST (Deployment tool) to the battery. Connect the power supply red clip to the positive battery terminal, and the black clip to the negative battery terminal.
10. Verify that the red lamp on the SST (Deployment tool) is illuminated.
11. Verify that all persons are standing at least 6 m {20 ft} away from the vehicle.
12. Press the activation switch on the SST (Deployment tool) to operate (deploy) the side air bag module.
WARNING:
- The air bag module is very hot immediately after it is operated (deployed). You can be burned. Do not touch the air bag module for at least 15 min after deployment.
13. Disconnect the SST (Deployment tool) from the SST (Adapter harness).
Curtain Air Bag Module
1. Partially peel back the seaming welt.
2. Remove the rain sensor cover. (Vehicles with auto light/wiper system) Service and Repair
3. Disconnect the rain sensor connector. (Vehicles with auto light/wiper system)
4. Remove the following parts:
a. Sunroof seaming welt (vehicles with sunroof system)
b. A-pillar trim A-Pillar Trim Removal/Installation
c. Front scuff plate Front Scuff Plate Removal/Installation
d. Rear scuff plate Rear Scuff Plate Removal/Installation
e. B-pillar lower trim B-Pillar Lower Trim Removal/Installation
f. Upper anchor of the front seat belt Front Seat Belt Removal/Installation [Two-Step Deployment Control System]
g. B-pillar upper trim B-Pillar Upper Trim Removal/Installation
h. Rear seat cushion Rear Seat Cushion Removal/Installation
i. Tire house trim Tire House Trim Removal/Installation
j. Trunk side upper trim (5HB)
k. C-pillar trim C-Pillar Trim Removal/Installation
l. Map light Map Light Removal/Installation
m. Interior light Service and Repair
n. Sunvisor Service and Repair
o. Assist handle Service and Repair
p. Headliner Service and Repair
q. Curtain air bag module. Curtain Air Bag Module Removal/Installation
5. Cut off the air bag part of the curtain air bag module at the position shown in the figure.
WARNING:
- Be sure not to crush the pipe on the side where it is cut. If it is crushed completely, the interior pressure of the pipe will build up and can cause it to explode during air bag module operation (deployment).
6. Disconnect the curtain air bag module connector.
7. Connect the SST (Adapter harness) to the curtain air bag module as shown in the figure.
8. Secure the curtain air bag module to the tire, by wrapping a wire (cross section 1.25 mm2 {0.002 in2} or more) through the tire and the bolt installation holes at least 4 times as shown in the figure.
WARNING:
- If the air bag module is not properly installed to the tire, serious injury may occur when the module is operated (deployed). Make sure to install the air bag module securely.
9. Stack the tire with the curtain air bag module on top of two tires without wheels. Stack a tire without a wheel on top of the tire with the curtain air bag module, and then stack another tire with a wheel on the very top.
10. Secure the tires with wire.
11. Connect the SST (Deployment tool) to the SST (Adapter harness).
12. Connect the SST (Deployment tool) to the battery. Connect the power supply red clip to the positive battery terminal, and the black clip to the negative battery terminal.
13. Verify that the red lamp on the SST (Deployment tool) is illuminated.
14. Verify that all persons are standing at least 6 m {20 ft} away from the vehicle.
15. Press the activation switch on the SST (Deployment tool) to operate (deploy) the curtain air bag module.
WARNING:
- The air bag module is very hot immediately after it is operated (deployed). You can be burned. Do not touch the air bag module for at least 15 min after deployment.
16. Disconnect the SST (Deployment tool) from the SST (Adapter harness).
Pre-tensioner Seat Belt
1. Remove the front scuff plate. Front Scuff Plate Removal/Installation
2. Remove the rear scuff plate. Rear Scuff Plate Removal/Installation
3. Remove the B-pillar lower trim. B-Pillar Lower Trim Removal/Installation
4. Remove the pre-tensioner seat belt and connect the SST (Adapter harness) as shown in the figure. Front Seat Belt Removal/Installation [Two-Step Deployment Control System]
5. Put the pre-tensioner seat belt inside the tire and secure it to the tire by wrapping a wire (cross section of 1.25 mm2 {0.002 in2} or more) through the tire and the bolt installation holes at least 4 times.
WARNING:
- If the pre-tensioner seat belt is not properly installed to the tire, serious injury may occur when the pre-tensioner part is operated (deployed). When installing the pre-tensioner seat belt to the tire, make sure the pre-tensioner part is inside the tire.
6. Stack the tire with the pre-tensioner seat belt on to of two tires without wheels. Stack a tire without a wheel on top of the tire with the pre-tensioner seat belt, and then stack another tire with a wheel on the very top.
7. Secure the tires with wire.
8. Connect the SST (Deployment tool) to the SST (Adapter harness).
9. Connect the SST (Deployment tool) to the battery. Connect the power supply red clip to the positive battery terminal, and the black clip to the negative battery terminal.
10. Verify that the red lamp on the SST (Deployment tool) is illuminated.
11. Verify that all persons are standing at least 6 m {20 ft} away from the vehicle.
12. Press the activation switch on the SST (Deployment tool) to operate (deploy) the pre-tensioner seat belt.
WARNING:
- The pre-tensioner seat belt is very hot immediately after it is operated (deployed). You can be burned. Do not touch the pre-tensioner seat belt for at least 15 min after deployment.
13. Disconnect the SST (Deployment tool) from the SST (Adapter harness).
Lap Pre-tensioner Seat Belt
1. Remove the front scuff plate. Front Scuff Plate Removal/Installation
2. Remove the rear scuff plate. Rear Scuff Plate Removal/Installation
3. Remove the B-pillar lower trim. B-Pillar Lower Trim Removal/Installation
4. Cut off the seat belt part of the lap pre-tensioner seat belt at the position shown in the figure.
5. Remove the lap pre-tensioner seat belt and connect the SST (Adapter harness) as shown in the figure. Front Seat Belt Removal/Installation [Two-Step Deployment Control System]
6. Secure the lap pre-tensioner seat belt to the vise as shown in the figure. Set the lap pre-tensioner piston so that the ejection end is pointed downward. Place the bottom surface of the housing so that it contacts the upper surface of the vise.
WARNING:
- When the lap pre-tensioner seat belt operates (deploys), the piston ejects from the end of the cylinder. If an object lies in the ejection path within 40 mm of the cylinder end, the piston could hit the object, rebound and hit the lap pre-tensioner seat belt. The force of the piston hitting the lap pre-tensioner seat belt could dislodge it from the vice and cause injury. When securing the lap pre-tensioner in the vice, position it so that there is no obstruction in the ejection path within 40 mm of the cylinder end.
7. Put the lap pre-tensioner seat belt secure it to the vise by hold a wire (cross section of 1.25 mm2 {0.002 in2} or more) through the shaft of vice and the lap pre-tensioner seat belt bracket hole at least 4 times.
WARNING:
- If the lap pre-tensioner seat belt is not properly installed to the vice, serious injury may occur when the lap pre-tensioner part is operated (deployed). When installing the lap pre-tensioner seat belt to the vice, make sure the lap pre-tensioner part is properly installed to the vise.
8. Connect the SST (Deployment tool) to the SST (Adapter harness).
9. Connect the SST (Deployment tool) to the battery. Connect the power supply red clip to the positive battery terminal, and the black clip to the negative battery terminal.
10. Verify that the red lamp on the SST (Deployment tool) is illuminated.
11. Verify that all persons are standing at least 6 m {20 ft} away from the vehicle.
12. Press the activation switch on the SST (Deployment tool) to operate (deploy) the lap pre-tensioner seat belt.
WARNING:
- The lap pre-tensioner seat belt is very hot immediately after it is operated (deployed). You can be burned. Do not touch the lap pre-tensioner seat belt for at least 15 min after deployment.
13. Disconnect the SST (Deployment tool) from the SST (Adapter harness).