Curiosii for ever!: Car repair manuals for everyone.

Standard Deployment Control System





AIR BAG MODULE AND PRE-TENSIONER SEAT BELT DEPLOYMENT PROCEDURES [STANDARD DEPLOYMENT CONTROL SYSTEM]

WARNING:
- A live (undeployed) air bag module or pre-tensioner seat belt may accidentally operate (deploy) when it is disposed of and cause serious injury. Do not dispose of a live (undeployed) air bag module and pre-tensioner seat belt. If the SSTs (Deployment tool and Adapter harness) are not available, consult the nearest Mazda representative for assistance.

CAUTION:
- Deploying the air bag modules and pre-tensioner seat belts inside the vehicle may cause damage to the vehicle interior. When the vehicle is not to be scrapped, always deploy the air bag modules and pre-tensioner seat belts outside the vehicle.

- If the vehicle is to be scrapped, or when disposing of any air bag modules or pre-tensioner seat belts, operate (deploy) them inside the vehicle by following the deployment procedure below and using the SST (Deployment tool).

- When disposing of an operated (deployed) air bag module and pre-tensioner seat belt, refer to "AIR BAG MODULE AND PRE-TENSIONER SEAT BELT DISPOSAL PROCEDURES".

Deployment Procedure for Inside of Vehicle

1. Inspect the SST (Deployment tool). Tools and Equipment

2. Move the vehicle to an open space, away from strong winds, and close all of the vehicle doors and windows.

3. Switch the ignition to off.

4. Disconnect the negative battery cable and wait for 1 min or more. Removal and Replacement

5. Follow the procedure below for operating (deploying) the applicable air bag module or pre-tensioner seat belt.

Driver-side Air Bag Module

1. Remove the driver-side air bag module. Standard Deployment Control System

2. Connect the SST (Adapter harness) to the driver-side air bag module as shown in the figure.






3. Install the driver-side air bag module. Standard Deployment Control System

4. Connect the SST (Deployment tool) to the SST (Adapter harness).






5. Connect the SST (Deployment tool) to the battery. Connect the power supply red clip to the positive battery terminal, and the black clip to the negative battery terminal.

6. Verify that the red lamp on the SST (Deployment tool) is illuminated.

7. Verify that all persons are standing at least 6 m {20 ft} away from the vehicle.

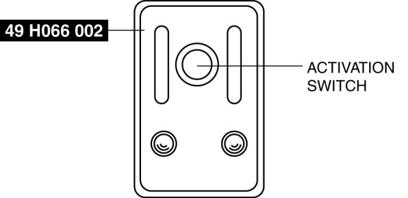
8. Press the activation switch on the SST (Deployment tool) to operate (deploy) the air bag module.






WARNING:
- The air bag module is very hot immediately after it is operated (deployed). You can get burned. Do not touch the air bag module for at least 15 min after deployment.

9. Disconnect the SST (Deployment tool) form the SST (Adapter harness).

Passenger-side Air Bag Module

1. Remove the glove compartment. Service and Repair

2. Disconnect the passenger-side air bag module connector.






3. Connect the SST (Adapter harness) to the passenger-side air bag module as shown in the figure.

4. Connect the SST (Deployment tool) to the SST (Adapter harness).






5. Connect the SST (Deployment tool) to the battery. Connect the power supply red clip to the positive battery terminal, and the black clip to the negative battery terminal.

6. Verify that the red lamp on the SST (Deployment tool) is illuminated.

7. Verify that all persons are standing at least 6 m {20 ft} away from the vehicle.

8. Press the activation switch on the SST (Deployment tool) to operate (deploy) the air bag module.






WARNING:
- The air bag module is very hot immediately after it is operated (deployed). You can be burned. Do not touch the air bag module for at least 15 min after deployment.

9. Disconnect the SST (Deployment tool) form the SST (Adapter harness).

Side Air Bag Module

1. Disconnect the side air bag module connector. (Driver side with power seat)






2. Connect the SST (Adapter harness) to the side air bag module as shown in the figure.






3. Connect the SST (Deployment tool) to the SST (Adapter harness).






4. Connect the SST (Deployment tool) to the battery. Connect the power supply red clip to the positive battery terminal, and the black clip to the negative battery terminal.

5. Verify that the red lamp on the SST (Deployment tool) is illuminated.

6. Verify that all persons are standing at least 6 m {20 ft} away from the vehicle.

7. Press the activation switch on the SST (Deployment tool) to operate (deploy) the side air bag module.






WARNING:
- The air bag module is very hot immediately after it is operated (deployed). You can be burned. Do not touch the air bag module for at least 15 min after deployment.

8. Disconnect the SST (Deployment tool) from the SST (Adapter harness).

Curtain Air Bag Module

1. Remove the following parts:

- Rear seat cushion (4SD) Rear Seat Cushion Removal/Installation
- Rear scuff plate Rear Scuff Plate Removal/Installation
- Tire house trim Tire House Trim Removal/Installation
- Trunk side upper trim (5HB)
- Trunk side trim (5HB)

2. Remove the C-pillar trim. C-Pillar Trim Removal/Installation

3. Disconnect the curtain air bag module connector.






4. Connect the SST (Deployment tool) to the SST (Adapter harness).






5. Connect the SST (Deployment tool) to the battery. Connect the power supply red clip to the positive battery terminal, and the black clip to the negative battery terminal.

6. Verify that the red lamp on the SST (Deployment tool) is illuminated.

7. Verify that all persons are standing at least 6 m {20 ft} away from the vehicle.

8. Press the activation switch on the SST (Deployment tool) to operate (deploy) the curtain air bag module.






WARNING:
- The air bag module is very hot immediately after it is operated (deployed). You can be burned. Do not touch the air bag module for at least 15 min after deployment.

9. Disconnect the SST (Deployment tool) from the SST (Adapter harness).

Pre-tensioner Seat Belt

1. Remove the front scuff plate. Front Scuff Plate Removal/Installation

2. Remove the rear scuff plate. Rear Scuff Plate Removal/Installation

3. Remove the B-pillar lower trim. B-Pillar Lower Trim Removal/Installation

4. Remove the pre-tensioner seat belt and connect the SST (Adapter harness) as shown in the figure. Front Seat Belt Removal/Installation [Standard Deployment Control System]






5. Install the pre-tensioner seat belt.

6. Connect the SST (Deployment tool) to the SST (Adapter harness).






7. Connect the SST (Deployment tool) to the battery. Connect the power supply red clip to the positive battery terminal, and the black clip to the negative battery terminal.

8. Verify that the red lamp on the SST (Deployment tool) is illuminated.

9. Verify that all persons are standing at least 6 m {20 ft} away from the vehicle.

10. Press the activation switch on the SST (Deployment tool) to operate (deploy) the pre-tensioner seat belt.






WARNING:
- The pre-tensioner seat belt is very hot immediately after it is operated (deployed). You can be burned. Do not touch the pre-tensioner seat belt for at least 15 min after deployment.

11. Disconnect the SST (Deployment tool) from the SST (Adapter harness).

Deployment Procedure for Outside of Vehicle

1. Inspect the SST (Deployment tool). Tools and Equipment

2. Switch the ignition to off.

3. Disconnect the negative battery cable and wait for 1 min or more. Removal and Replacement

4. Follow the procedure below for operating (deploying) the applicable air bag module or pre-tensioner seat belt.

Driver-side Air Bag Module

1. Remove the driver-side air bag module. Standard Deployment Control System

2. Install the bolts to the driver-side air bag module as shown in the figure, and connect the SST (Adapter harness).






3. Place the driver-side air bag module on the center of the tire wheel with the padded surface facing up. To secure the air bag module to the tire wheel, wrap a wire (cross section 1.25 mm2 {0.002 in2} or more) through the wheel and the bolt installation holes of the air bag module at least 4 times.






WARNING:
- If the air bag module is not properly installed to the tire wheel, serious injury may occur when the module is operated (deployed). When installing the air bag module to the tire wheel, make sure the padded surface is facing up.

4. Stack three tires without wheels on top of the tire with the driver-side air bag module, and then stack another tire with a wheel on the very top.






5. Secure the tires with wire.






6. Connect the SST (Deployment tool) to the SST (Adapter harness).






7. Connect the SST (Deployment tool) to the battery. Connect the power supply red clip to the positive battery terminal, and the black clip to the negative battery terminal.

8. Verify that the red lamp on the SST (Deployment tool) is illuminated.

9. Verify that all persons are standing at least 6 m {20 ft} away from the vehicle.

10. Press the activation switch on the SST (Deployment tool) to operate (deploy) the air bag module.






WARNING:
- The air bag module is very hot immediately after it is operated (deployed). You can be burned. Do not touch the air bag module for at least 15 min after deployment.

11. Disconnect the SST (Deployment tool) from the SST (Adapter harness).

Passenger-side Air Bag Module

1. Remove the following parts:
a. Passenger-side front scuff plate Front Scuff Plate Removal/Installation

b. Passenger-side front side trim Front Side Trim Removal/Installation

c. Dashboard under cover Dashboard Under Cover Removal/Installation

d. Glove compartment Service and Repair

e. Passenger-side lower panel Lower Panel Removal/Installation

f. SIRIUS satellite radio unit (with SIRIUS satellite radio system) Service and Repair

g. Passenger-side air bag module Two-Step Deployment Control System

2. Disconnect the passenger-side air bag module connector.






3. Connect the SST (Adapter harness) to the passenger-side air bag module as shown in the figure.

4. Place the padded surface of the passenger-side air bag module facing the center of the tire as shown in the figure. To secure the air bag module to the tire wheel, wrap a wire (cross section 1.25 mm2{0.002 in2} or more) through the tire and the bolt installation holes at least 4 times as shown in the figure.






WARNING:
- If the air bag module is not properly secured to the tire, the tires may fall over by the impact of operation (deployment) and cause serious injury. To prevent this, secure the air bag module properly with the padded surface facing the center of the tire.

5. Stack the tire with the passenger-side air bag module on top of two tires without wheels. Stack a tire without a wheel on top of the tire with the passenger-side air bag module, and then stack another tire with a wheel on the very top.






6. Secure the tires with wire.






7. Connect the SST (Deployment tool) to the SST (Adapter harness).






8. Connect the SST (Deployment tool) to the battery. Connect the power supply red clip to the positive battery terminal, and the black clip to the negative battery terminal.

9. Verify that the red lamp on the SST (Deployment tool) is illuminated.

10. Verify that all persons are standing at least 6 m {20 ft} away from the vehicle.

11. Press the activation switch on the SST (Deployment tool) to operate (deploy) the air bag module.






WARNING:
- The air bag module is very hot immediately after it is operated (deployed). You can be burned. Do not touch the air bag module for at least 15 min after deployment.

12. Disconnect the SST (Deployment tool) from the SST (Adapter harness).

Side Air Bag Module

1. Remove the front seat. Removal and Replacement

2. Remove the front seat back trim and pad. Front Seat Back Trim Removal/Installation

3. Remove the side air bag module. Side Air Bag Module Removal/Installation

4. Connect the SST (Adapter harness) to the side air bag module as shown in the figure.






5. Put the side air bag module inside the tire and secure it to the tire by wrapping a wire (cross section of 1.25mm2 {0.002in2} or more) through the tire and the bolt at least 4 times.






WARNING:
- If the air bag module is not properly secured to the tire, the tires may fall over by the impact of operation (deployment) and cause serious injury. To prevent this, secure the air bag module properly with the padded surface facing the center of the tire.

6. Stack the tire with the side air bag module on top of two tires without wheels. Stack a tire without a wheel on top of the tire with the side air bag module, and then stack another tire with a wheel on the very top.






7. Secure the tires with wire.






8. Connect the SST (Deployment tool) to the SST (Adapter harness).






9. Connect the SST (Deployment tool) to the battery. Connect the power supply red clip to the positive battery terminal, and the black clip to the negative battery terminal.

10. Verify that the red lamp on the SST (Deployment tool) is illuminated.

11. Verify that all persons are standing at least 6 m {20 ft} away from the vehicle.

12. Press the activation switch on the SST (Deployment tool) to operate (deploy) the side air bag module.






WARNING:
- The air bag module is very hot immediately after it is operated (deployed). You can be burned. Do not touch the air bag module for at least 15 min after deployment.

13. Disconnect the SST (Deployment tool) from the SST (Adapter harness).

Curtain Air Bag Module

1. Partially peel back the seaming welt.

2. Remove the rain sensor cover. (Vehicles with auto light/wiper system) Service and Repair

3. Disconnect the rain sensor connector. (Vehicles with auto light/wiper system)

4. Remove the following parts:
a. Sunroof seaming welt (vehicles with sunroof system)

b. A-pillar trim A-Pillar Trim Removal/Installation

c. Front scuff plate Front Scuff Plate Removal/Installation

d. Rear scuff plate Rear Scuff Plate Removal/Installation

e. B-pillar lower trim B-Pillar Lower Trim Removal/Installation

f. Upper anchor of the front seat belt Front Seat Belt Removal/Installation [Standard Deployment Control System]

g. B-pillar upper trim B-Pillar Upper Trim Removal/Installation

h. Rear seat cushion Rear Seat Cushion Removal/Installation

i. Tire house trim Tire House Trim Removal/Installation

j. Trunk side upper trim (5HB)

k. C-pillar trim C-Pillar Trim Removal/Installation

l. Map light Map Light Removal/Installation

m. Interior light Service and Repair

n. Sunvisor Service and Repair

o. Assist handle Service and Repair

p. Headliner Service and Repair

q. Curtain air bag module Curtain Air Bag Module Removal/Installation

5. Cut off the air bag part of the curtain air bag module at the position shown in the figure.






WARNING:
- Be sure not to crush the pipe on the side where it is cut. If it is crushed completely, the interior pressure of the pipe will build up and can cause it to explode during air bag module operation (deployment).

6. Disconnect the curtain air bag module connector.






7. Connect the SST (Adapter harness) to the curtain air bag module as shown in the figure.

8. Secure the curtain air bag module to the tire, by wrapping a wire (cross section 1.25 mm2 {0.002 in2} or more) through the tire and the bolt installation holes at least 4 times as shown in the figure.






WARNING:
- If the air bag module is not properly installed to the tire, serious injury may occur when the module is operated (deployed). Make sure to install the air bag module securely.

9. Stack the tire with the curtain air bag module on top of two tires without wheels. Stack a tire without a wheel on top of the tire with the curtain air bag module, and then stack another tire with a wheel on the very top.






10. Secure the tires with wire.






11. Connect the SST (Deployment tool) to the SST (Adapter harness).






12. Connect the SST (Deployment tool) to the battery. Connect the power supply red clip to the positive battery terminal, and the black clip to the negative battery terminal.

13. Verify that the red lamp on the SST (Deployment tool) is illuminated.

14. Verify that all persons are standing at least 6 m {20 ft} away from the vehicle.

15. Press the activation switch on the SST (Deployment tool) to operate (deploy) the curtain air bag module.






WARNING:
- The air bag module is very hot immediately after it is operated (deployed). You can be burned. Do not touch the air bag module for at least 15 min after deployment.

16. Disconnect the SST (Deployment tool) from the SST (Adapter harness).

Pre-tensioner Seat Belt

1. Remove the front scuff plate. Front Scuff Plate Removal/Installation

2. Remove the rear scuff plate. Rear Scuff Plate Removal/Installation

3. Remove the B-pillar lower trim. B-Pillar Lower Trim Removal/Installation

4. Remove the pre-tensioner seat belt and connect the SST (Adapter harness) as shown in the figure. Front Seat Belt Removal/Installation [Standard Deployment Control System]






5. Put the pre-tensioner seat belt inside the tire and secure it to the tire by wrapping a wire (cross section of 1.25mm2 {0.002in2} or more) through the tire and the bolt installation holes at least 4 times.






WARNING:
- If the pre-tensioner seat belt is not properly installed to the tire, serious injury may occur when the pre-tensioner part is operated (deployed). When installing the pre-tensioner seat belt to the tire, make sure the pre-tensioner part is inside the tire.

6. Stack the tire with the pre-tensioner seat belt on to of two tires without wheels. Stack a tire without a wheel on top of the tire with the pre-tensioner seat belt, and then stack another tire with a wheel on the very top.






7. Secure the tires with wire.






8. Connect the SST (Deployment tool) to the SST (Adapter harness).






9. Connect the SST (Deployment tool) to the battery. Connect the power supply red clip to the positive battery terminal, and the black clip to the negative battery terminal.

10. Verify that the red lamp on the SST (Deployment tool) is illuminated.

11. Verify that all persons are standing at least 6 m {20 ft} away from the vehicle.

12. Press the activation switch on the SST (Deployment tool) to operate (deploy) the pre-tensioner seat belt.






WARNING:
- The pre-tensioner seat belt is very hot immediately after it is operated (deployed). You can be burned. Do not touch the pre-tensioner seat belt for at least 15 min after deployment.

13. Disconnect the SST (Deployment tool) from the SST (Adapter harness).