Curiosii for ever!: Car repair manuals for everyone.

Radiator: Service and Repair





RADIATOR REMOVAL/INSTALLATION [MZI 3.7 V6]

WARNING:
- Never remove the cooling system cap or loosen the radiator drain plug while the engine is running, or when the engine and radiator are hot. Scalding engine coolant and steam may shoot out and cause serious injury. It may also damage the engine and cooling system.
- Turn off the engine and wait until it is cool. Even then, be very careful when removing the cap. Wrap a thick cloth around it and slowly turn it counterclockwise 2.5 turns. Step back while the pressure escapes.
- When you are sure all the pressure is gone, turn the cap using the cloth, and remove it.

1. Disconnect the negative battery cable.

2. Remove the aerodynamic under cover No.1. Aerodynamic Under Cover No. 1 Removal/Installation

3. Drain the engine coolant. Service and Repair

4. Remove the air cleaner and fresh air duct component. Service and Repair

5. Remove the cooling fan component. Service and Repair

6. Disconnect the ATF oil cooler hose from the radiator. Removal and Replacement

7. Remove in the order indicated in the table.

8. Install in the reverse order of removal.

9. Refill the engine coolant. Service and Repair

10. Inspect for engine coolant leakage. Engine Coolant Leakage Inspection

11. Inspect the ATF level. Testing and Inspection









Upper Mount Rubber Bracket Removal Note

CAUTION:
- To prevent damage to the upper mount rubber bracket tab, do not apply excessive force.

NOTE:
- The upper mount rubber bracket can be easily removed by pressing down the upper mount rubber bracket tab using one hand and pressing the notch area downward using the other hand.

1. While pressing down the upper mount rubber bracket tab lightly in the direction of the arrow shown in the figure, press the upper mount rubber bracket toward the vehicle front.






2. Lift the front part of the upper mount rubber bracket and remove the upper mount rubber bracket.

Radiator Removal Note

1. Remove the four bolts which secure the condenser to the radiator and set the condenser apart from the radiator.






2. Remove the radiator from above the engine compartment.

Radiator Installation Note

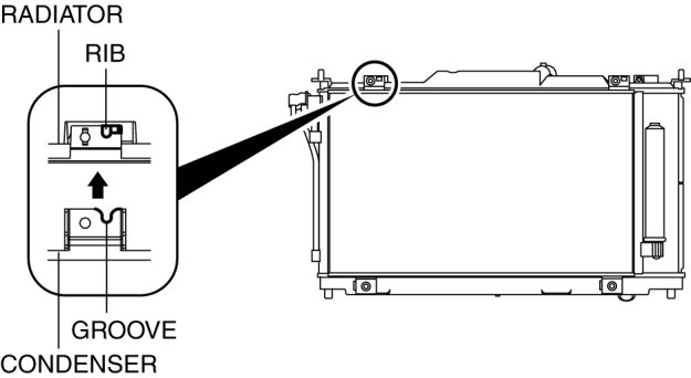
1. Align the bracket groove of the condenser to the radiator positioning rib.






2. Align the bracket notch of the condenser to the radiator positioning rib.






3. Install the condenser installation bolts as shown in the figure.