Curiosii for ever!
: Car repair manuals for everyone.
Home
>>
Mazda
>>
2012
>>
6 L4-2.5L
>>
Repair and Diagnosis
>>
Restraints and Safety Systems
>>
Seat Belt Systems
>>
Child Restraint
>>
Child Seat Tether Attachment
>>
Service and Repair
Child Seat Tether Attachment: Service and Repair
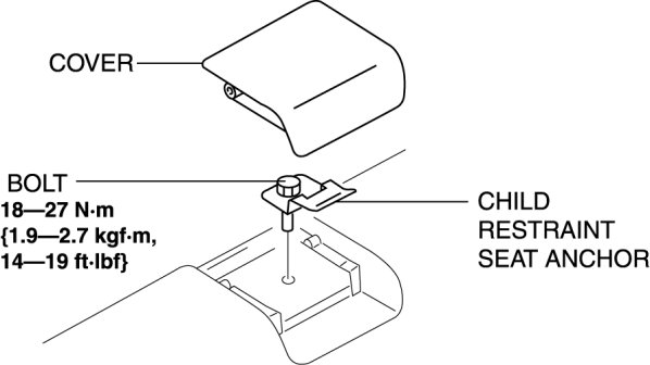
CHILD-RESTRAINT SEAT ANCHOR REMOVAL/INSTALLATION
1.
Remove the cover.
2.
Remove the bolt and child-restraint seat anchor.
3.
Install in the reverse order of removal.