Curiosii for ever!: Car repair manuals for everyone.

Brake Pedal Assy: Service and Repair





BRAKE PEDAL REMOVAL/INSTALLATION

CAUTION:
- The clearance between the brake switch and the brake pedal is automatically adjusted to the correct amount when the brake switch connector is connected after the brake switch has been properly installed. If the brake switch is not properly installed or the connector is connected before installation, the clearance may be incorrect, causing a brake light malfunction. Therefore, always verify that the brake switch is properly installed before connecting the connector.
- Once the brake switch clearance has automatically been adjusted, it cannot be adjusted again. Therefore, replace the switch with a new one when replacing the power brake unit or the pedal, or performing any procedure that changes the pedal stroke.

1. Remove the following parts:
a. Glove compartment Service and Repair

b. Dashboard under cover Dashboard Under Cover Removal/Installation

c. Front scuff plates Front Scuff Plate Removal/Installation

d. Front side trims Front Side Trim Removal/Installation

e. Upper panel Upper Panel Removal/Installation

f. Decoration panel Decoration Panel Removal/Installation

g. Shift lever knob (MTX) Service and Repair

h. Shift panel Shift Panel Removal/Installation

i. Center panel lower Center Panel Lower Removal/Installation

j. Climate control unit Full-Auto Air Conditioner Manual Air Conditioner

k. Rear console Rear Console Removal/Installation

l. Hood release lever Service and Repair

m. Lower panel Lower Panel Removal/Installation

n. Driver-side air bag module Driver-Side Air Bag Module Removal/Installation

o. Steering wheel Without Advanced Keyless Entry And Push Button Start System With Advanced Keyless Entry And Push Button Start System

p. Column cover Service and Repair

q. Combination switch Removal and Replacement

r. Meter hood Meter Hood Removal/Installation

s. Instrument cluster Removal and Replacement

t. Center panel upper Center Panel Upper Removal/Installation

u. Audio unit (Vehicles with audio system) Audio Unit Removal/Installation

v. Car-navigation unit (Vehicles with car-navigation system) Service and Repair

w. Steering shaft cover Without Advanced Keyless Entry And Push Button Start System With Advanced Keyless Entry And Push Button Start System

x. Steering shaft Without Advanced Keyless Entry And Push Button Start System With Advanced Keyless Entry And Push Button Start System

y. Side panel Side Panel Removal/Installation

z. SIRIUS satellite radio unit Service and Repair

aa. Passenger-side air bag module Passenger-Side Air Bag Module Removal/Installation

ab. A-pillar trims A-Pillar Trim Removal/Installation

ac. Windshield wiper arm and blade Service and Repair

ad. Cowl grille Cowl Grille Removal/Installation

ae. Dashboard Dashboard Removal/Installation

2. Disconnect the accelerator pedal connector. Service and Repair

3. Remove in the order indicated in the table.

4. Install in the reverse order of removal.









Brake Switch Installation Note

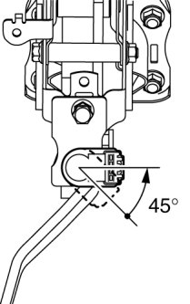
1. Install the new brake switch to the brake pedal, and secure it by turning it counterclockwise 45°.






Brake Switch Connector Installation Note

1. Inspect the brake pedal. Testing and Inspection

2. With the brake pedal in its original position, install the brake switch to the brake switch connector.