Curiosii for ever!: Car repair manuals for everyone.

Automatic Transaxle Shift Mechanism Removal/Installation





AUTOMATIC TRANSAXLE SHIFT MECHANISM REMOVAL/INSTALLATION

Selector Lever Component Removal/Installation

CAUTION:
- Do not allow foreign material or water to penetrate the connector. Otherwise, it could cause poor contact and corrosion.

1. Remove the battery cover. Removal and Replacement

2. Disconnect the negative battery cable.

3. Remove the center console box. Center Console Box Removal/Installation

4. Remove the console panel. Console Panel Removal/Installation

5. Remove the center console. Center Console Removal/Installation

6. Remove the selector lever knob.






7. Remove the shift panel. Shift Panel Removal/Installation

8. Remove the side wall. Side Wall Removal/Installation

9. Remove the front console. Front Console Removal/Installation

10. Remove the rear blower unit. Rear Blower Unit Removal/Installation

11. Remove in the order shown in the figure.

12. Install in the reverse order of removal.

13. Inspect the selector lever. Selector Lever Inspection





Selector Lever Component Installation Note

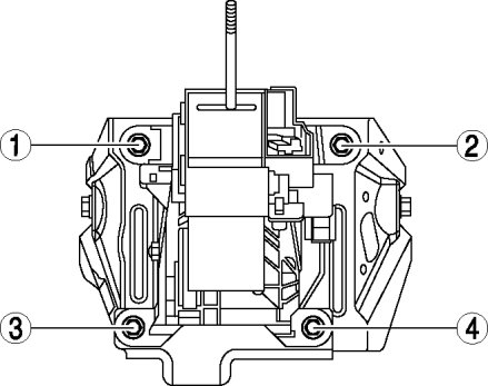
1. Tighten the selector lever component installation nut in the order shown in the figure.






Tightening torque
- 16-22 Nm {1.7-2.2 kgf-m, 12-16 ft-lbf}

Selector Cable (Selector Lever Side) Installation Note

1. Securely install the selector cable (selector lever side) to the selector lever.

2. Install the selector cable (selector lever side) to the selector lever pin and temporarily tighten the nut.

3. Install the selector cable end (selector lever side) to the selector lever pin, and temporarily tighten the nut.

4. Verify that the selector lever pin end is out of the nut.






5. Verify that the manual shaft is in the P position.






6. Completely tighten the nut of the selector cable (selector lever side) end. At this time, do not touch the selector lever component rod.











CAUTION:
- If the nut is tightened with the selector lever component rod loaded, it could cause a selector cable adjustment malfunction.

Tightening torque
- 10-15 Nm {102-152 kgf-cm, 89-132 in-lbf}

Selector Cable Removal/Installation

1. Remove the battery cover. Removal and Replacement

2. Disconnect the negative battery cable.

3. Remove the battery. Removal and Replacement

4. Remove the battery tray. Removal and Replacement

5. Remove the air cleaner component. Service and Repair

6. Remove the aerodynamic under cover. Service and Repair

7. Remove the insulator (No.5) installation nuts and set the insulator (No.5) aside. Service and Repair

8. Remove the center console box. Center Console Box Removal/Installation

9. Remove the console panel. Console Panel Removal/Installation

10. Remove the center console. Center Console Removal/Installation

11. Remove the selector lever knob.

12. Remove the shift panel. Shift Panel Removal/Installation

13. Remove the side wall. Side Wall Removal/Installation

14. Remove the front console. Front Console Removal/Installation

15. Disconnect the drain hose wire from the A/C unit. Removal and Replacement

16. Remove in the order shown in the figure.

17. Install in the reverse order of removal.

18. Inspect the selector lever. Selector Lever Inspection









Selector Cable End (Transaxle side) Removal Note

1. Remove the clip and disconnect the selector cable end (transaxle side) from the manual shaft lever.






Selector Cable Installation Note

1. Install the grommet to the position shown in the figure.






Tightening torque
- 6.9-9.8 Nm {71-99 kgf-cm, 62-86 in-lbf}

2. Securely install the cable outer side (selector lever side) to the selector lever.

3. Install the selector cable end (selector lever side) to the selector lever pin, and temporarily tighten the nut.

4. Verify that the selector lever pin end is out of the nut.






5. Install the clip shown in the figure and tighten the nut.






Tightening torque
- 19-25 Nm {2.0-2.5 kgf-m, 15-18 ft-lbf}

6. Verify that the selector lever is in the P position.

7. Verify that the manual shaft is in the P position.






8. Install the selector cable end (transaxle side) and cable outer side (transaxle side).

CAUTION:
- Make sure that the selector cable is not twisted when installing it to the boot.
- Install the selector cable straight. If the selector cable is installed twisted as shown in the figure, the installation will be incorrect.





a. Install the cable outer side (transaxle side) to the selector cable bracket.






b. Install the clip to the selector cable end (transaxle side) as shown in the figure.






NOTE:
- Point the clip side of the selector cable end (transaxle side) to the vehicle front and install the selector cable to the manual shaft lever.






9. Verify that the manual shaft lever end is out of the selector cable end.






10. Verify that the selector cable is securely installed.

11. Completely tighten the nut of the selector cable (selector lever side) end. At this time, do not touch the selector lever component rod.











CAUTION:
- If the nut is tightened with the selector lever component rod loaded, it could cause a selector cable adjustment malfunction.

Tightening torque
- 10-15 Nm {102-152 kgf-cm, 89-132 in-lbf}

Bulb Removal/Installation

1. Remove the battery cover. Removal and Replacement

2. Disconnect the negative battery cable.

3. Remove the center console box. Center Console Box Removal/Installation

4. Remove the console panel. Console Panel Removal/Installation

5. Remove the selector lever knob.

6. Remove the shift panel. Shift Panel Removal/Installation

7. Remove the bulb from the bulb socket.






8. Install in the reverse order of removal.

Selector Cable Adjustment

1. Remove the battery cover. Removal and Replacement

2. Disconnect the negative battery cable.

3. Remove the center console box. Center Console Box Removal/Installation

4. Remove the console panel. Console Panel Removal/Installation

5. Remove the center console. Center Console Removal/Installation

6. Remove the selector lever knob.

7. Remove the shift panel. Shift Panel Removal/Installation

8. Remove the side wall. Side Wall Removal/Installation

9. Remove the front console. Front Console Removal/Installation

10. Loosen the nut of the selector cable (selector lever side) end.






11. Install the selector cable end (selector lever side) to the selector lever pin, and temporarily tighten the nut.

12. Verify that the selector lever pin end is out of the nut.






13. Verify that the selector lever is in the P position.

14. Verify that the manual shaft is in the P position.






15. Completely tighten the nut of the selector cable (selector lever side) end. At this time, do not touch the selector lever component rod.











CAUTION:
- If the nut is tightened with the selector lever component rod loaded, it could cause a selector cable adjustment malfunction.

Tightening torque
- 10-15 Nm {102-152 kgf-cm, 89-132 in-lbf}

16. Install in the reverse order of removal.

17. Inspect the selector lever. Selector Lever Inspection