Curiosii for ever!
: Car repair manuals for everyone.
Home
>>
Mazda
>>
2012
>>
5 L4-2.5L
>>
Repair and Diagnosis
>>
Body and Frame
>>
Exterior Moulding / Trim
>>
Locations
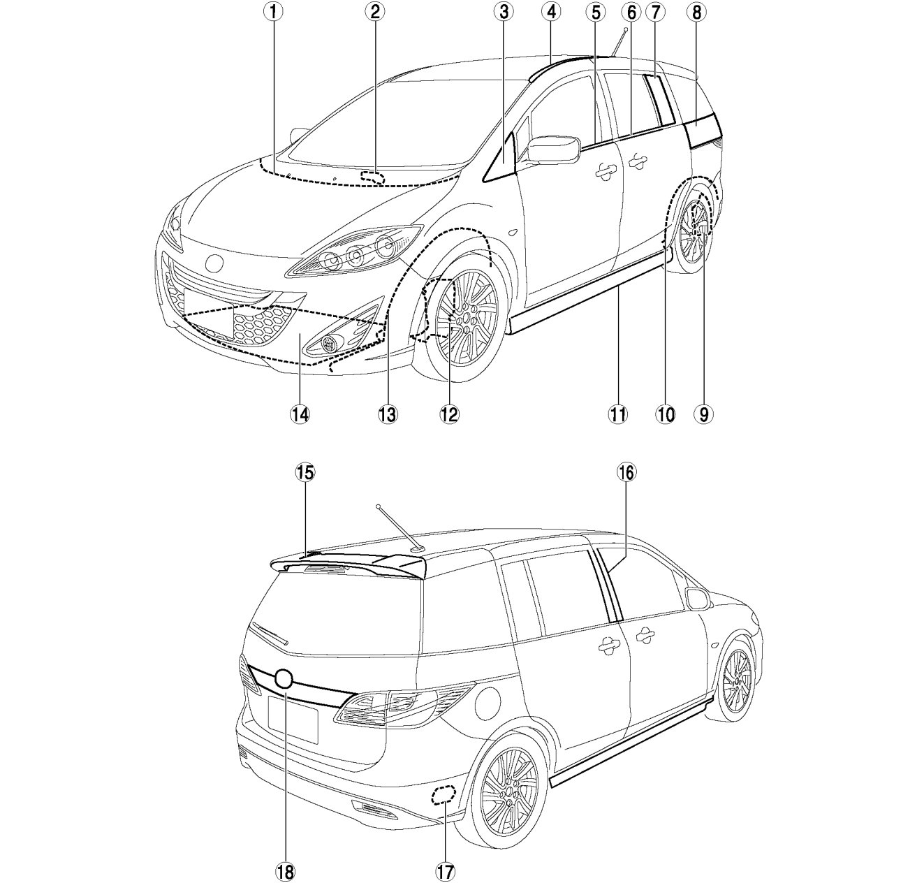
Exterior Moulding / Trim: Locations
EXTERIOR TRIM LOCATION INDEX