Curiosii for ever!: Car repair manuals for everyone.

Trunk / Liftgate Switch: Testing and Inspection





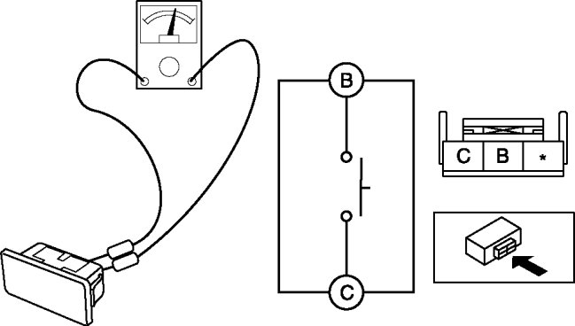
LIFTGATE OPENER SWITCH INSPECTION

1. Disconnect the negative battery cable.

2. Remove the following parts:
a. Liftgate upper trim

b. Liftgate side trim

c. Liftgate lower trim

d. Liftgate light Service and Repair

e. Liftgate garnish

f. Liftgate opener switch Service and Repair

3. Verify the continuity of liftgate opener switch terminals B and C.






4. Verify that the continuity is as indicated in the table.






- If not as indicated in the table, replace the liftgate opener switch.