Curiosii for ever!: Car repair manuals for everyone.

Removal and Replacement





ENGINE REMOVAL/INSTALLATION [MZR 1.5]

WARNING:
- Fuel vapor is hazardous. It can very easily ignite, causing serious injury and damage. Always keep sparks and flames away from fuel.
- Fuel line spills and leakage are dangerous. Fuel can ignite and cause serious injuries or death and damage. Fuel can also irritate skin and eyes. To prevent this, always complete the "Fuel Line Safety Procedure". Before Service Precaution

NOTE:
- Perform the engine and transaxle component removal/installation from below the vehicle.

1. Complete the "Fuel Line Safety Procedure", and remove the fuel pump relay. Before Service Precaution

2. Remove the battery and the battery tray. Removal and Replacement

3. Drain the engine coolant. Service and Repair

4. Drain the ATF (ATX) or transaxle oil (MTX). (See Automatic Transaxle Fluid (ATF) Replacement (ATX).) (See Transaxle Oil Replacement (MTX).)

5. Remove the front wheels and tires Service and Repair

6. Disconnect the radiator hose.

7. Remove the fresh-air duct and the air cleaner as a single unit, the evaporative hose, and the air hose. Service and Repair

8. Disconnect the fuel hose. Quick Release Connector Removal/Installation

9. Remove the drive belt. Service and Repair

10. Set the cooler pipe and the cooler hose (LO) out of the way. Service and Repair

11. Remove the generator. Removal and Replacement

NOTE:
- Secure the A/C compressor using wire or rope so that it is out of the way.

12. Remove the A/C compressor with the pipes still connected. Service and Repair

13. Disconnect the front drive shafts. Drive Shaft Removal/Installation

14. Disconnect the selector cable, and wiring harness. (ATX) Automatic Transaxle Removal/Installation

15. Disconnect the shift cable. (MTX) Manual Transaxle Removal/Installation

16. Remove the clutch release cylinder with the pipe still connected. (MTX) Service and Repair

17. Disconnect the vacuum hose and the heater hose.

18. Disconnect the wiring harness from the engine side.

19. Remove the middle pipe or the presilencer. Service and Repair

20. Remove in the order indicated in the table.

21. Install in the reverse order of removal.

22. Start the engine. and inspect and adjust the following.

- Leakage of engine oil, engine coolant, ATF (ATX), transaxle oil (MTX), and fuel.
- Pulley and belt for runout and contact.
- Ignition timing and idle speed. Verify the amount of CO, HC. Service and Repair
- Engine-driven accessories operation

NOTE:
- If the engine is overhauled and assembled to the vehicle, perform a road test to verify that there is no abnormal vibration and noise.









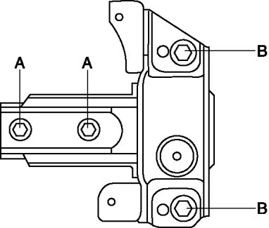
No.1 Engine Mount Removal Note

1. Remove the No.1 engine mount installation bolt (A) from below the vehicle.
ATX





MTX






2. Remove the No.1 engine mount rubber and the front crossmember as a single unit. Service and Repair






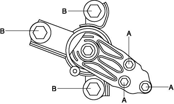
No.3 Engine Mount, No.4 Engine Mount Rubber Removal Note

CAUTION:
- Do not loosen the bolt shown in the figure because it cannot be installed properly if loosened once.





1. Secure the engine and the transaxle using an engine jack.






No.3 Engine Mount, No.4 Engine Mount Rubber Installation Note

1. Secure the engine and the transaxle using an engine jack.






2. Install the No.3 engine mount, and then temporarily tighten the installation bolts and nuts.

3. Tighten the installation bolts and nuts by order of A,B.






Tightening torque
- 62-76 Nm {6.4-7.7 kgf-m, 46-56 ft-lbf}

4. Install the No.4 engine mount rubber, and then temporarily tighten the installation bolts and nuts.

5. Tighten the installation bolts and nuts by order of A,B.






Tightening torque
- 74-105 Nm {7.6-10 kgf-m, 55-77 ft-lbf}

6. Remove the engine jack and attachment.

No.1 Engine Mount Installation Note

1. Install the front crossmember component. Service and Repair

2. Tighten the No.1 engine mount installation bolt (A).

ATX






Tightening torque
- 54-61 Nm {5.6-6.2 kgf-m, 40-44 ft-lbf}

MTX






Tightening torque
- 44-58 Nm {4.5-5.9 kgf-m, 33-42 ft-lbf}