Curiosii for ever!: Car repair manuals for everyone.

Timing Chain Assembly

TIMING CHAIN ASSEMBLY

1. Assemble in the order indicated in the table.






Timing Chain Assembly Note




1. Align the key groove of the crankshaft sprocket to the timing mark, and then position the No.1 cylinder to TDC.




2. Align the timing marks on the camshaft sprockets so that they form a straight line in alignment with the upper horizontal surface of the cylinder head.
3. Install the timing chain.
4. Install the timing chain guide and timing chain tensioner arm.




5. Install the chain adjuster and then remove the wire or paper clip used for fixing. (Remove the installed stopper when installing the new chain tensioner.)
6. Verify that there is no slack on the timing chain and then verify that each sprocket is positioned in the proper place again.
7. Inspect the valve timing by rotating the crankshaft clockwise twice.

Engine Front Cover Assembly Note

Caution: Install the engine front cover before the applied silicone sealant starts to harden.




1. Apply silicone sealant to the engine front cover as shown in the figure.

Diameter: 2-4 mm {0.08-0.15 in}








2. Tighten the engine front cover installation bolts in the order shown in the figure.
- Install bolt (1) using a new seal washer.








3. Install the oil seal using the SST.




4. Install the oil filter to the plug and insert it in the front cover as shown in the figure.

Tightening torque: 32-47 N.m {3.3-4.7 kgf.m, 24-34 ft.lbf}

Crankshaft Pulley Installation Bolt Assembly Note




1. Lock the drive plate (ATX) or flywheel (MTX) against rotation using the SST.
2. Tighten the crankshaft pulley installation bolt.

Tightening torque: 157-167 N.m {16.1-17 kgf.m, 116-123 ft.lbf}

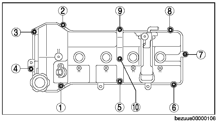
Cylinder Head Cover Assembly Note

Caution: Install the cylinder head cover before the applied silicone sealant starts to harden.




1. Apply silicone sealant as shown in the figure.

Diameter: 2-6 mm {0.1-0.2 in}
Length: 6-26 mm {0.3-1.0 in}





2. Tighten the cylinder head cover installation bolts in the order shown in the figure.

Tightening torque: 7-10 N.m {72-101 kgf.cm, 62-88 in.lbf}