Curiosii for ever!: Car repair manuals for everyone.

Cylinder Block Assembly (I)

CYLINDER BLOCK ASSEMBLY (I)

1. Assemble in the order indicated in the table.






Main Bearing Assembly Note

Caution: If a main bearing is reused, mistaking the position and direction of the bearing could result in engine damage due to seizure or burning of the bearing. Using the identifier paint marks employed during removal, assemble the main bearings at the positions numbered when the journal was removed, and so that the painted areas are on the front sides.

1. Assemble the upper and lower main bearing as specified shown in the figure.

Caution: If the lower main bearing is not assembled according to the specification it could result in engine damage from seizure or burning of the bearing. Measure the bearing using a vernier caliper and assemble it within the specification.




Upper main bearing





Lower main bearing

Lower Cylinder Block Assembly Note

Caution: Install the lower cylinder block before the applied silicone sealant starts to harden.




1. Apply silicone sealant to the lower cylinder block attachment side as shown in the figure.
2. Apply clean engine oil to the lower cylinder block installation bolts A.




3. Tighten the lower cylinder block installation bolts A in two steps in the order shown in the figure.

1 Tightening torque 24-26 N.m {2.5-2.6 kgf.m, 18-19 ft.lbf}
2 Tightening angle 42.5°-47.5°





4. Tighten the lower cylinder block installation bolts B in the order shown in the figure.

Tightening torque: 19-25 N.m {2.0-2.5 kgf.m, 15-18 ft.lbf}




5. Loosen bolts A and tighten the lower cylinder block installation bolts in two steps in the order shown a second time.

1 Tightening torque:24-26 N.m {2.5-2.6 kgf.m, 18-19 ft.lbf}
2 Tightening angle 42.5° -47.5°


Piston Pin Assembly Note




1. Assemble the SSTs as shown in the figure.




2. Adjust the SSTs (stopper bolt) to the L length.

Standard L length 60.85 mm {2.396 in}




3. Point the end mark on the connecting rod and F- mark on the piston in the same direction as shown in the figure.




4. Insert the assembled piston pin and the SSTs into the piston and the connecting rod.




5. Set the SSTs as shown in the figure.
6. Press the piston pin into the piston and connecting rod until the SST (guide) contacts the SST (stopper bolt) using the hydraulic press. If it is less than the specification, replace the piston pin or the connecting rod.

Pressure force: 2940-14700 N {300-1498 kg, 660-3297 lbf}

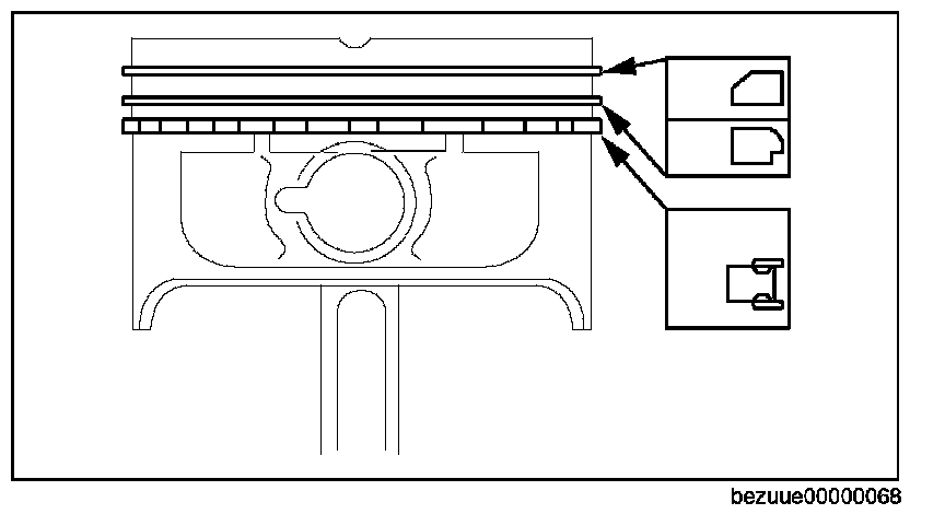
Piston Ring Assembly Note




1. Assemble the oil ring.
2. Install the second ring with the notch facing downward.
3. Install the top ring with scraper face side upward.

Piston, Connecting Rod Component Assembly Note




Note: After a piston with identification (F) on its upper end is installed, perform the PCM reprogramming, referring to the Workshop Manual, to prevent damage to the engine.




1. Position the end gap of each oil ring as shown in the figure.




2. Insert the piston into the cylinder with the mark on top of the piston facing the front of the engine.

Connecting Rod Bearing Assembly Note

Caution: If a connecting rod bearing is reused, mistaking the position and direction of the bearing could result in engine damage due to seizure or burning of the bearing. Using the identifier paint marks employed during removal, assemble the main bearings at the positions numbered when the journal was removed, and so that the painted areas are on the front sides.




1. Install the connecting rod bearing to the connecting rod and the connecting rod cap as specified shown in the figure.

Caution: If the connecting rod bearing is not assembled according to the specification it could result in engine damage from seizure or burning of the bearing. Measure the bearing using a vernier caliper and install it within the specification.

Connecting Rod Cap Assembly Note
1. Install the connecting rod cap with the knock pins and the alignment marks aligned.
2. Tighten the connecting rod cap installation bolt in two steps.

1. Tightening torque: 23-26 N.m {2.4-2.6 kgf.m, 17-19 ft.lbf}
2. Tightening angle: 82.5° -97.5°