Curiosii for ever!: Car repair manuals for everyone.

Trunk / Liftgate Switch: Testing and Inspection





LIFTGATE OPENER SWITCH INSPECTION

1. Disconnect the negative battery cable.

2. Remove the liftgate lower trim.

3. Remove the liftgate opener switch. Service and Repair

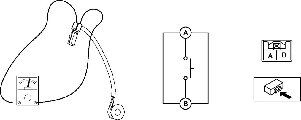
4. Verify the continuity of liftgate opener switch terminals A and B.






5. Verify that the continuity is as indicated in the table.






- If not as indicated in the table, replace the liftgate opener switch.