Curiosii for ever!: Car repair manuals for everyone.

Front Fender Liner: Service and Repair




FRONT MUDGUARD REMOVAL/INSTALLATION

1. Remove the screws A and fasteners B.






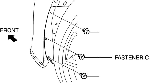
2. Remove fasteners C.






3. Remove fasteners D, F, G and screw E.






4. Remove the fasteners H to uninstall the front mud guard in the direction of the arrow.






5. Install in the reverse order of removal.