Curiosii for ever!: Car repair manuals for everyone.

Access Cover: Service and Repair




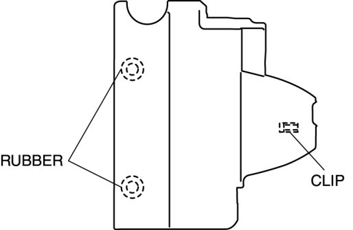
PLUG HOLE PLATE REMOVAL/INSTALLATION [LF]

1. Remove the plug hole plate.
NOTE:
- Lift off and remove the plug hole plate from the installation areas (rubber and clips) as shown in the figure.











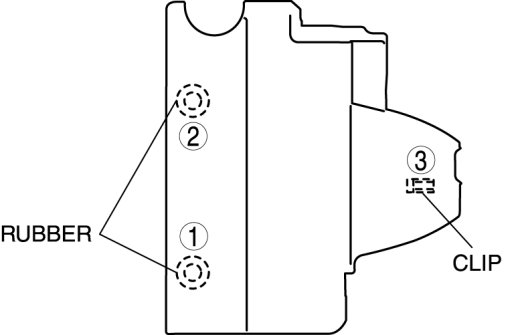
2. Install the plug hole plate.
a. To position the plug hole plate, grasp rubber 1 and 2, as shown in the figure, with your hands and press them in.






b. Grasp clips 3 with your hands and press them in.