Curiosii for ever!: Car repair manuals for everyone.

Power Steering Line/Hose: Service and Repair




POWER STEERING FLUID LINE COMPONENT REMOVAL/INSTALLATION [MZI 3.7 V6]

NOTE:
- The following procedure is for replacement of the parts shown in the figure.





Pressure Hose Removal/Installation

1. Remove the bolt shown in the figure, and position the power steering fluid reservoir out of the way.






2. Remove the windshield wiper arm. Service and Repair

3. Remove the cowl grille. Cowl Grille Removal/Installation

4. Remove the windshield wiper motor. Removal and Replacement

5. Remove the cowl panel. Cowl Panel Removal/Installation

6. Remove in the order indicated in the table.










7. Install in the reverse order of removal.

Return Hose No.1 Removal/Installation

1. Set the front mudguard (LH) out of the way. Service and Repair

2. Remove the splash shield (LH).

3. Remove in the order indicated in the table.










4. Install in the reverse order of removal.

Return Pipe No.1 Removal/Installation

1. Set the front mudguard (LH) out of the way. Service and Repair

2. Remove the splash shield (LH).

3. Remove in the order indicated in the table.










4. Install in the reverse order of removal.

Return Hose No.2 Removal/Installation

1. Set the front mudguard (LH) out of the way. Service and Repair

2. Remove the splash shield (LH).

3. Remove in the order indicated in the table.










4. Install in the reverse order of removal.

Cooling Pipe Removal/Installation

1. Set the front mudguard out of the way. Service and Repair

2. Remove the aerodynamic under cover NO.1. Aerodynamic Under Cover No.1 Removal/Installation

3. Remove the splash shield (LH).

4. Remove in the order indicated in the table.










5. Install in the reverse order of removal.

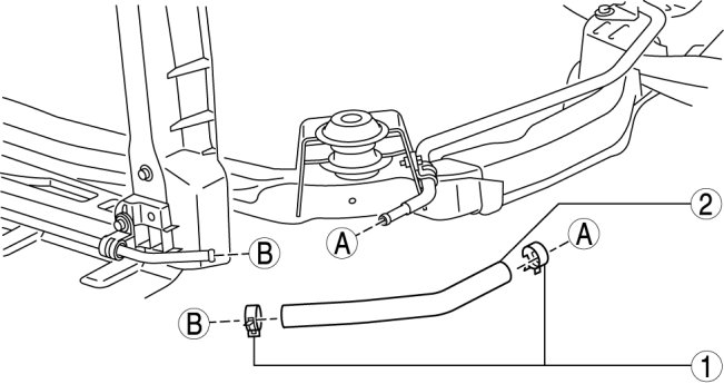
Return Hose No.3 Removal/Installation

1. Set the front mudguard (RH) out of the way. Service and Repair

2. Remove in the order indicated in the table.










3. Install in the reverse order of removal.

Return Pipe No.2 Removal/Installation

1. Remove the front bumper. Front Bumper Removal/Installation

2. Remove the front combination light (RH). Service and Repair

3. Remove the washer tank. Service and Repair

4. Remove in the order indicated in the table.










5. Install in the reverse order of removal.

Return Hose No.4 Removal/Installation

1. Remove in the order indicated in the table.










2. Install in the reverse order of removal.

Suction Hose Removal/Installation

1. Remove the bolt shown in the figure, and position the power steering fluid reservoir out of the way.






2. Remove in the order indicated in the table.










3. Install in the reverse order of removal.