Curiosii for ever!: Car repair manuals for everyone.

Clockspring Assembly / Spiral Cable: Service and Repair




CLOCK SPRING REMOVAL/INSTALLATION

1. Disconnect the negative battery cable.

2. Remove the driver-side air bag module. Standard Deployment Control System Two-Step Deployment Control System

3. Remove the steering wheel. Steering Wheel And Column Removal/Installation - Without Advanced Keyless Entry And Push Button Start System Steering Wheel And Column Removal/Installation - With Advanced Keyless Entry And Push Button Start System

4. Remove the column cover.

5. Remove the connectors.






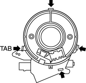
6. Remove the tab direction of the arrow shown in the figure.

7. Remove the screws.

8. Remove the clock spring.

9. Remove the steering angle sensor.

10. Install in the reverse order of removal.

11. Verify that the air bag system warning light illuminates for approx. 6 s and goes out.

- If the air bag system warning light does not operate in the manner described above, there are malfunctions in the system. Inspect the system using the on-board diagnostic.

Clock Spring Installation Note

CAUTION:
- If the clock spring is not adjusted, the spring wire in the clock spring will break due to overtension when the steering wheel is turned. Always adjust the clock spring after installing it.

- Adjust the clock spring after installing it. Adjustments

Steering Angle Sensor Removal Note

- Remove the tab shown in the figure and remove the steering angle sensor.