Curiosii for ever!: Car repair manuals for everyone.

Acceleration/Deceleration Sensor: Service and Repair




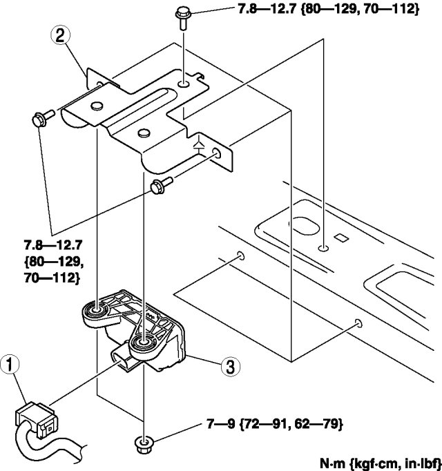
COMBINED SENSOR REMOVAL/INSTALLATION

CAUTION:
- The internal parts of the combined sensor could be damaged if dropped. Be careful not to drop the combined sensor. Replace the combined sensor if it is subjected to an impact. Also, do not use an impact wrench or other similar air tools when removing/installing the sensor.

1. Remove the second-row seat. Second-Row Seat Removal/Installation

2. Remove the front seat. Front Seat Removal/Installation

3. Remove the front scuff plate. Front Scuff Plate Removal/Installation

4. Remove the rear scuff plate. Rear Scuff Plate Removal/Installation

5. Remove the B-pillar lower trim. B-Pillar Lower Trim Removal/Installation

6. Remove the center console. Center Console Removal/Installation

7. Remove the parking brake lever. Service and Repair

8. Lift the floor covering and remove the floor panel cover (RH).

9. Remove in the order indicated in the table.










10. Install in the reverse order of removal.

11. After installation, inspect the parking brake lever stroke. Testing and Inspection

12. After installation, perform the combined sensor initialization procedure. Programming and Relearning