Curiosii for ever!: Car repair manuals for everyone.

Control Case Assembly Note

Control Case Assembly Note





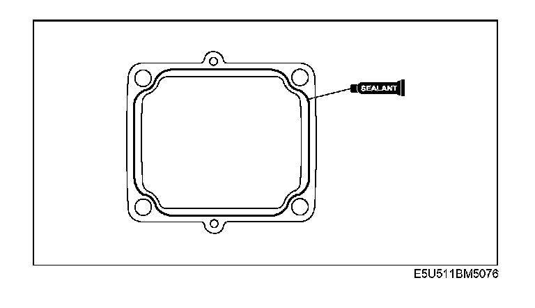
1. Apply sealant to the contact surfaces of the control case and extension housing as shown in the figure.
2. Install the control case to the extension housing.

Tightening torque:
15.7 - 22.5 N-m (1.60 - 2.29 kgf-m, 11.6 - 16.5 ft-lbf)