Curiosii for ever!: Car repair manuals for everyone.

Part 2

Disassembly Procedure Continued

50. Install the middle planetary gear component and sun gear.
51. Apply ATF to the bearing race and thrust needle bearing.
52. Install the bearing race and thrust needle bearing to the middle planetary gear component.





53. Install the front and middle planetary gear ring component.
54. Apply ATF to the thrust washer.





55. Install the thrust washer to the front planetary gear component.
56. Apply ATF to the thrust washer and install it to the bearing race.





57. Install the F1 one-way clutch component to the bearing race.





58. Install the brake piston to the transmission case as shown in the figure.

Caution: Align the hole of the brake piston with the position shown in the figure





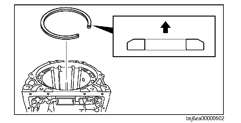
59. Verify that the snap ring is correctly positioned.

Caution: If the snap ring is not installed in the correct direction, the automatic transmission may not operate normally.





60. Using snap ring pliers, install snap ring into the groove.

Note: Align the opening of the snap ring with the position shown in the figure.





61. Install the drive plate and driven plate as shown in the figure.

Note: Inspect the number and order of the retaining plate, drive and driven plates.





62. Install the driven plates, drive plate and the retaining plate in the order indicated in the figure.





63. Using a flathead screwdriver, install the snap ring into the groove.

Caution: Align the opening of the snap ring with the position shown in the figure.

64. Apply ATF to the thrust washer and install it to the F2 one-way clutch component.





65. Install the F2 one-way clutch component to the clutch drum component.
66. Apply ATF to the bearing race and thrust needle bearing.





67. Install the bearing race and thrust needle bearing to the clutch drum component and the F2 one way clutch component.





68. Install the clutch drum component and F2 one way clutch component.

Caution: Do not drop the clutch drum component and the F2 one-way clutch component.

69. Apply ATF to the new O-ring.
70. Install the O-ring to the oil pump component.





71. Apply ATF to the thrust needle bearing, bearing race and install it to the oil pump component.





72. Install the oil pump as shown in the figure.

Caution: Do not drop the oil pump.





73. Install the bolt as shown in the figure.

Tightening torque:
17.6-24.5 Nm (1.8-2.4 kgf-m, 13.0-18.0 ft. lbf.)





74. Apply ATF to the thrust needle bearing and the bearing race.
75. Install the thrust needle bearing and bearing race to the front planetary gear component.
76. Install snap ring using snap ring pliers.





77. Measure the clearance between snap ring and bearing race using a thickness gauge.

Standard:
0.02-0.12 mm (0.0008-0.0047 in)

^ If not within the specification, select an appropriate bearing race.

Retaining plate size








78. Verify that the input shaft turns smoothly.
79. Using a dial indicator, measure the input shaft end play.

Input shaft end play:
0.35-1.05 mm (0.014-0.041 in)





80. Using the SST and a hammer, install a new oil seal.

Caution: Do not damage the transmission case.





81. Install a new manual shaft washer to the manual valve.
82. Insert the manual shaft into the transmission case and assemble it to the manual valve.





83. Tap in a new pin using a hammer.





84. Align the manual shaft groove with the spacer hole and crimp them using a punch.
85. Verify that the manual shaft turns smoothly.





86. Install the parking pawl.
87. Install the driven plate to the parking pawl shaft.
88. Install the parking pawl shaft, spring.

Caution: Be careful not to apply too much force to the spring.





89. Connect the parking rod to the manual valve.





90. Install the bracket.

Tightening torque:
5.9-8.8 Nm (60.2-89.7 kgf-cm, 52.3-77.8 in. lbf.)





91. Set the manual valve to the P position and verify that the parking pawl shaft is properly engaged with the front planetary gear component.





92. Install the accumulator valve and compression spring to the transmission case.

Caution: Do not damage the O-ring and accumulator piston.





93. Apply ATF to the new O-ring and install the accumulator pistons C.





94. Install the accumulator piston C, compression spring to the transmission case.





95. Apply ATF to the new O-ring and install the accumulator pistons A, B.





96. Using a flathead screwdriver, install the compression spring, snap ring to the accumulator pistons A, B.





97. Install the accumulator pistons A, B and the compression spring to the transmission case.

Caution: Do not damage gasket.





98. Apply ATF to the new transmission case gasket, new brake drum gasket and install the transmission case.





99. Install the check valve subcomponent and compression spring to the transmission case.