Curiosii for ever!: Car repair manuals for everyone.

Part 1

Disassembly Procedure
1. Apply ATF to the new O-ring.

Caution: Do not damage the O-ring and B4 brake piston.





2. Install the O-ring to the B4 brake piston.
3. Apply ATF to the new O-rings.

Caution: Do not damage the O-ring and sleeve.





4. Install the O-ring to the sleeve.
5. Apply ATF to the new O-rings

Caution: Do not damage the O-ring and inner brake piston.





6. Install the O-ring to the inner brake piston.
7. Apply ATF to the sliding surface of the transmission case.





8. Install the inner brake piston, sleeve and B4 brake piston to the transmission case.





9. Install the piston return spring.





10. Using the SST compress the piston return spring and install the snap ring into the groove.

Caution: Do not expand the snap ring too much.





11. Install the brake tube to the transmission case as shown in the figure.

Caution: Align the tabs of the brake tube with the position shown in the figure.





12. Verify that B4 brake piston moves smoothly when the compressed air atomization equipment lever is pulled/released while blowing compressed air into the transmission case.





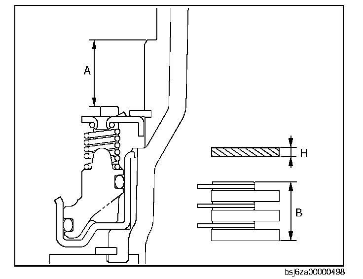
13. Measure the level difference (length A) between the brake tube upper surface and the retaining plate contact surface at the both ends across the B4 brake piston diameter using a vernier caliper, and calculate the average value.

Note: Install the B4 brake piston to the transmission case securely.

Dimension A:
23.32-24.18 mm (0.92-0.95 in)

14. Measure the thickness of all the driven plates and drive plate components (5), and driven plates (4) at the both ends across the diameter using a vernier caliper, and calculate the average value.

Dimension B:
21.92-22.72 mm (0.87-0.89 in)

15. Calculate the pack clearance using the following formula.

Dimension A-Dimension B-0.18 mm (0.007 in)-Thickness H

16. If the pack clearance exceeds the maximum specification, select the retaining plate with a clearance that is the maximum specification and install it.

Pack clearance:
0.5-0.8 mm (0.02-0.03 in)

Note: There are 8 types of retaining plates for the pack clearance adjustment. Select the one with the most suitable thickness.

Retaining plate thickness H (mm (in))








17. Apply ATF to the bearing race, thrust needle bearing and install to the rear planetary gear component.





18. Install the rear planetary gear component to the transmission case.





19. Install the retaining plates, drive plates and driven plates to the transmission case as shown in the figure.

Caution: Inspect the number and order of the retaining plate, drive and driven plates.





20. Install the retaining plate, drive plates and driven plates in the order indicated in the figure.





21. Apply ATF to the bearing race, needle bearing race and install to the intermediate shaft.





22. Install the rear ring gear component, F3 one-way clutch and inner race to the intermediate shaft.





23. Install the intermediate shaft component to the transmission case.





24. Verify that the snap ring is correctly positioned.

Caution: If the snap ring is not installed in the correct direction, the automatic transmission may not operate normally.





25. Install snap ring to the transmission case using snap ring pliers.





26. Install the stopper spring to the transmission case.





27. Install the brake piston and brake cylinder to the transmission case.

Caution: Align the opening of the snap ring with the position shown in the figure.





28. Verify that B2 brake piston moves smoothly when the compressed air atomization equipment lever is pulled/released while blowing compressed air into the transmission case.





29. Measure the level difference (length A) between the brake piston upper surface and the snap ring contact surface at the both ends across the brake piston diameter using a vernier caliper, and calculate the average value.

Note: Install the B2 brake piston to the transmission case securely.

Dimension A:
21.19-21.90 mm (0.84-0.86 in)

30. Measure the thickness of all the driven plates and drive plate components (4), and driven plates (3) at the both ends across the diameter using a vernier caliper, and calculate the average value.

Dimension B:
16.52-17.15 mm (0.65-0.67 in)

31. Calculate the pack clearance using the following formula.

Dimension A-Dimension B-1.6 mm (0.063 in)-Thickness H

32. If the pack clearance exceeds the maximum specification, select the retaining plate with a clearance that is the maximum specification and install it.

Pack clearance:
0.6-0.9 mm (0.024-0.035 in)

Note: There are 8 types of retaining plates for the pack clearance adjustment. Select the one with the most suitable thickness.

Retaining plate thickness H (mm (in))








33. Install the return spring to the transmission case.

Caution: Inspect the number and order of the retaining plate, drive and driven plates.





34. Install the retaining plate, drive plate and driven plates to the transmission case as shown in the figure.





35. Install the retaining plate, drive plate component, and driven plates in the order indicated in the figure.





36. Install the retaining plate to the transmission case.





37. Install the SST as shown in the figure, and compress the piston return spring.

Caution: Align the opening of the snap ring with the position shown in the figure.





38. Using a flathead screwdriver, install the snap ring into the groove.

Caution: Align the hole of the brake piston and brake cylinder with the position shown in the figure.





39. Install the B1 brake piston component and return spring to the transmission case as shown in the figure.





40. Install the SST as shown in the figure, and compress the piston return spring.





41. Using a flathead screwdriver, install the snap ring to the transmission case.

Caution: Align the opening of the snap ring with the position shown in the figure.





42. Verify that B1 brake piston moves smoothly when the compressed air atomization equipment lever is pulled/released while blowing compressed air into the transmission case.





43. Measure the level difference (length A) between the B1 brake piston upper surface and retaining plate contact surface at the both ends across the B1 brake piston diameter using a vernier caliper, and calculate the average value.

Note: Install the B1 brake piston component to the transmission case securely.

Dimension A:
15.27-15.92 mm (0.61-0.62 in)

44. Measure the thickness of all the driven plates and drive plate components (3), and driven plates (3) at the both ends across the diameter using a vernier caliper, and calculate the average value.

Dimension B:
12.52-12.92 mm (0.493-0.508 in)

45. Calculate the pack clearance using the following formula.

Dimension A-Dimension B-Thickness H

46. If the pack clearance exceeds the maximum specification, select the retaining plate with a clearance that is the maximum specification and install it.

Pack clearance:
0.42-0.72 mm (0.017-0.028 in)

Note: There are four types of retaining plates for the pack clearance adjustment. Select the one with the most suitable thickness.

Retaining Plate thickness H (mm (in))





Caution: Inspect the number and order of the retaining plate, drive and driven plates.





47. Install the drive plate, driven plates and retaining plate to the transmission component as shown in the figure.





48. Install the driven plates, drive plate, and the retaining plate in the order indicated in the figure.
49. Install the bearing race and thrust needle bearing to the middle planetary gear component.