Curiosii for ever!: Car repair manuals for everyone.

Determining Open Circuit Location (HS-CAN) [Multiplex Communication System]




DETERMINING OPEN CIRCUIT LOCATION (HS-CAN) [MULTIPLEX COMMUNICATION SYSTEM]

CAUTION:
- If the malfunctioning part is detected in the communication line, before disconnecting the related connector for inspection, press the connector in the connection direction to verify that there is no looseness or disconnection.
- When disconnecting the connector, verify that there is no damage, deformation, or corrosion of the connector terminals.

1. Verify the CAN system-related module DTCs and the failed module on the M-MDS screen.

2. Refer to "DTC Output Pattern and Malfunctioning Part" and find the area linked from the malfunctioning part.
NOTE:
- A hyphen (-) in the DTC output pattern cell indicates that the DTC may be displayed depending on the malfunction detection conditions. If it is not displayed, the malfunctioning part can be determined by checking only the crosses (x).
- If any of the following DTCs is displayed alone, perform the applicable DTC inspection. DTC Table [Multiplex Communication System]

- Instrument cluster: U1900
- EPS control module: U1900
- DSC HU/CM: U1900
- Keyless control module: U1147, U2510
- Steering angle sensor: U1900

3. Inspect the possible cause and inspection item of the applicable malfunctioning part.

4. Perform the DTC inspection after the repair procedure.

- If any DTC is displayed, return to Initial Inspection and Diagnostic Overview.

DTC Output Pattern and Malfunctioning Part
Cross (x): Communication error-related DTC and malfunctioning moduleHyphen (-): Error signal-related DTC may be displayed

U0100-U2510:






*1
Vehicles with ABS
*2
Vehicles with DSC
*3
AT

A

Possible cause

- Connector terminal disconnection, poor contact, damage, deformation, corrosion
- Open circuit in wiring harness between PCM and branch A
- PCM malfunction

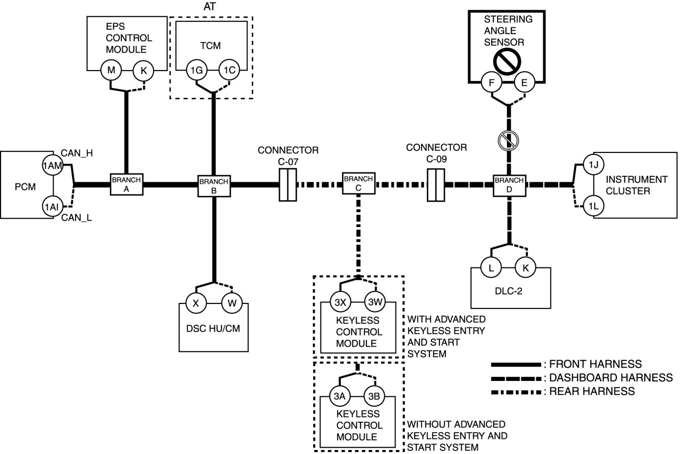
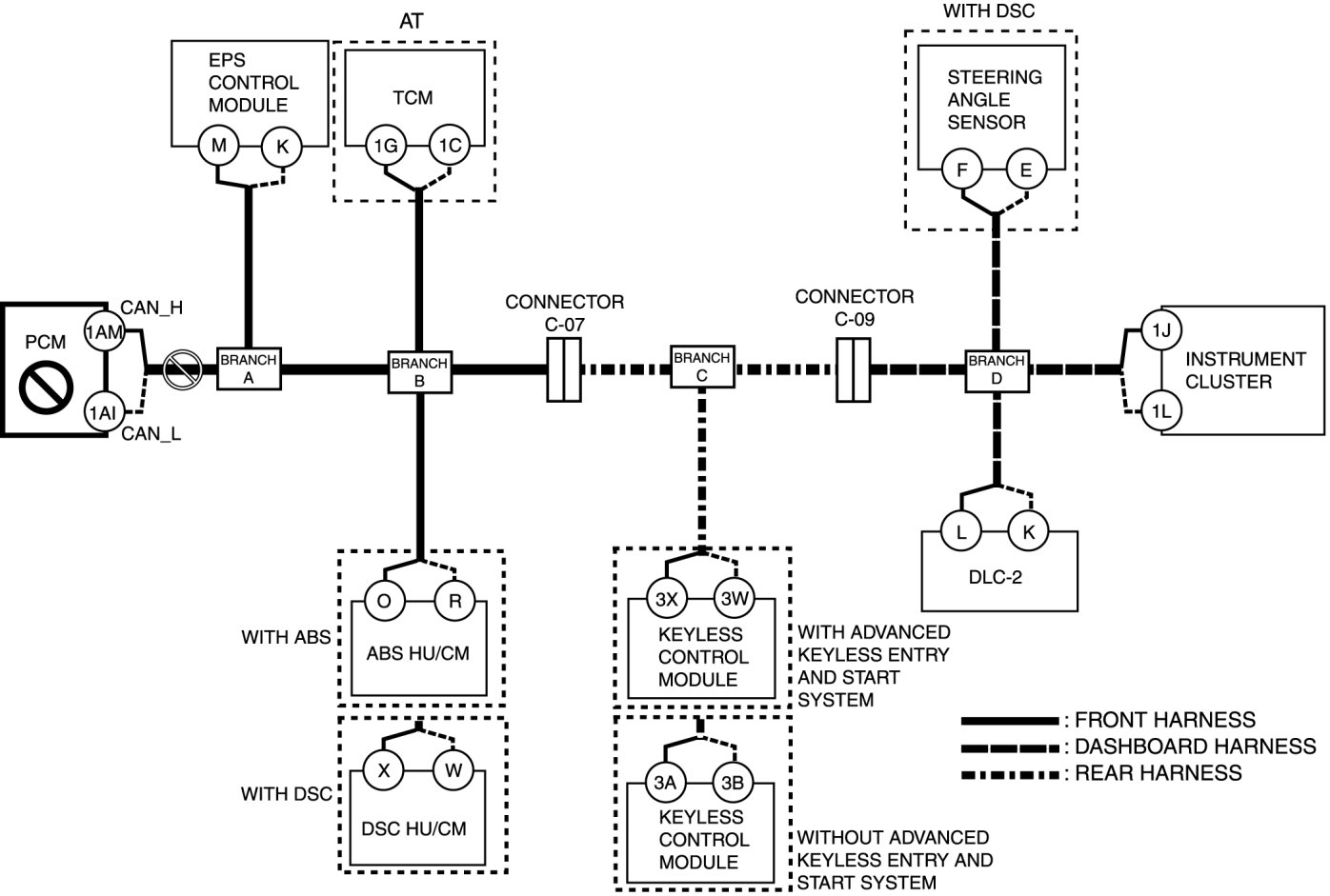
System wiring diagram





Inspection item

- PCM connector
- Wiring harness between PCM terminal 1AM and branch A
- Wiring harness between PCM terminal 1AI and branch A
- PCM

B

Possible cause

- Connector terminal disconnection, poor contact, damage, deformation, corrosion
- Open circuit in wiring harness between EPS control module and branch A
- EPS control module malfunction

System wiring diagram





Inspection item

- EPS control module connector
- Wiring harness between EPS control module terminal M and branch A
- Wiring harness between EPS control module terminal K and branch A
- EPS control module

C

Possible cause

- Open circuit in wiring harness between branch A and branch B

System wiring diagram





Inspection item

- Wiring harness between branch A and branch B

D

Possible cause

- Connector terminal disconnection, poor contact, damage, deformation, corrosion
- Open circuit in wiring harness between TCM and branch B
- TCM malfunction

System wiring diagram





Inspection item

- TCM connector
- Wiring harness between TCM terminal 1G and branch B
- Wiring harness between TCM terminal 1C and branch B
- TCM

E

Possible cause

- Connector terminal disconnection, poor contact, damage, deformation, corrosion
- Open circuit in wiring harness between ABS HU/CM and branch B
- ABS HU/CM malfunction

System wiring diagram





Inspection item

- ABS HU/CM connector
- Wiring harness between ABS HU/CM terminal O and branch B
- Wiring harness between ABS HU/CM terminal R and branch B
- ABS HU/CM

F

Possible cause

- Connector terminal disconnection, poor contact, damage, deformation, corrosion
- Open circuit in wiring harness DSC HU/CM and branch B
- DSC HU/CM malfunction

System wiring diagram





Inspection item

- DSC HU/CM connector
- Wiring harness between DSC HU/CM terminal X and branch B
- Wiring harness between DSC HU/CM terminal W and branch B
- DSC HU/CM

G

Possible cause

- Connector terminal disconnection, poor contact, damage, deformation, corrosion
- Open circuit in wiring harness between branch B and connector C-07
- Open circuit in wiring harness between connector C-07 and branch C
- Connector C-07 malfunction

System wiring diagram





Inspection item

- Connector C-07
- Wiring harness between branch B and connector C-07
- Wiring harness between connector C-07 and branch C

H

Possible cause

- Connector terminal disconnection, poor contact, damage, deformation, corrosion
- Open circuit in wiring harness between keyless control module and branch C
- Keyless control module malfunction

System wiring diagram





Inspection item

With advanced keyless entry and start system
- Keyless control module connector
- Wiring harness between keyless control module terminal 3X and branch C
- Wiring harness between keyless control module terminal 3W and branch C
- Keyless control module

Without advanced keyless entry and start system
- Keyless control module connector
- Wiring harness between keyless control module terminal 3A and branch C
- Wiring harness between keyless control module terminal 3B and branch C
- Keyless control module

I

Possible cause

- Connector terminal disconnection, poor contact, damage, deformation, corrosion
- Open circuit in wiring harness between branch C and connector C-09
- Open circuit in wiring harness between connector C-09 and branch D
- Connector C-09 malfunction

System wiring diagram





Inspection item

- Connector C-09
- Wiring harness between branch C and connector C-09
- Wiring harness between connector C-09 and branch D

J

Possible cause

- Connector terminal disconnection, poor contact, damage, deformation, corrosion
- Open circuit in wiring harness between steering angle sensor and branch D
- Steering angle sensor malfunction

System wiring diagram





Inspection item

- Steering angle sensor connector
- Wiring harness between steering angle sensor terminal E and branch D
- Wiring harness between steering angle sensor terminal F and branch D
- Steering angle sensor

K

Possible cause

- Connector terminal disconnection, poor contact, damage, deformation, corrosion
- Open circuit in wiring harness between instrument cluster and branch D
- Instrument cluster malfunction

System wiring diagram





Inspection item

- Instrument cluster connector
- Wiring harness between instrument cluster terminal 1J and branch D
- Wiring harness between instrument cluster terminal 1L and branch D
- Instrument cluster