Curiosii for ever!: Car repair manuals for everyone.

4TH Gear, 4TH Synchronizer Ring and 3RD/4TH Clutch Hub Component Assembly Note

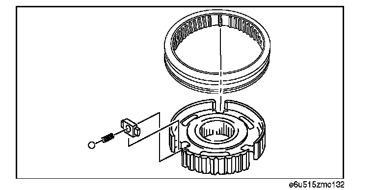
4th Gear, 4th Synchronizer Ring and 3rd/4th Clutch Hub Component Assembly Note





1. Place the 4th gear, 4th inner ring, 4th middle ring, 4th synchronizer ring and 3rd/4th clutch hub.

Caution: Align each clutch ring with the gear and clutch hub correctly.





2. Assemble the synchronizer key, spring, steel ball, and clutch hub sleeve as shown in the figure.





3. Install the 3rd/4th clutch hub component using the SST and a press.