Curiosii for ever!: Car repair manuals for everyone.

Removal and Replacement




BATTERY REMOVAL/INSTALLATION [L3 WITH TC]

1. Remove in the order indicated in the table.

2. Install in the reverse order of removal.










PCM Cover Installation Note

1. Install the PCM cover hook to the PCM box hole.






2. Install with PCM cover hooks A aligned with the PCM box and PCM bracket holes at two points.






3. Install the PCM cover to the PCM box hook.






Battery Clamp Installation Note

1. Assemble the battery clamp so that the arrow on it is pointed toward the front of the vehicle.






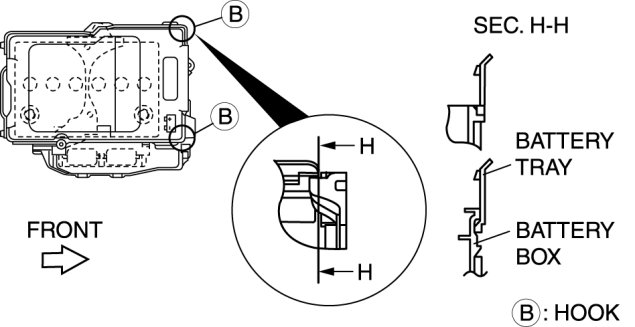
Battery Box Installation Note

1. Assemble with battery box hooks B aligned with the battery tray holes at two points.






Battery Cover Installation Note

1. Install with battery cover hooks C aligned with the battery tray holes at two points.






2. Set the battery cover to battery tray hooks D at two points.