Curiosii for ever!: Car repair manuals for everyone.

Oil Pan Assembly Note

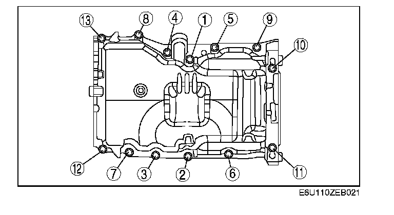
Oil Pan Assembly Note





1. Apply silicone sealant to the areas shown in the figure.
2. Assemble the oil pan.





3. Use a straight edge to align the junction of the oil pan and the cylinder block on the engine front cover side.





4. Tighten the bolts in the order shown in the figure.

Tightening torque
17-23 N-m (1.8-2.3 kgf-m, 12.6-16.9 ft-lbf)