Curiosii for ever!
: Car repair manuals for everyone.
Home
>>
Mazda
>>
2009
>>
Mazdaspeed3 L4-2.3L Turbo
>>
Repair and Diagnosis
>>
Engine, Cooling and Exhaust
>>
Engine
>>
Service and Repair
>>
Overhaul
>>
Engine L3 With TC
>>
Mechanical
>>
Cylinder Block (I) Assembly
>>
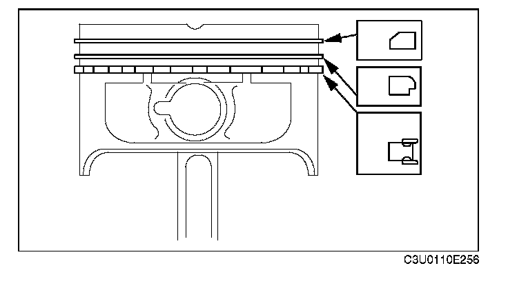
Piston Ring Assembly Note
Piston Ring Assembly Note
Piston Ring Assembly Note
1.
Assemble the oil ring.
2.
Assemble the second ring with the notch facing downward.
3.
Assemble the top ring with scraper face side upward.