Curiosii for ever!
: Car repair manuals for everyone.
Home
>>
Mazda
>>
2009
>>
6 L4-2.5L
>>
Repair and Diagnosis
>>
Transmission and Drivetrain
>>
Manual Transmission/Transaxle
>>
Service and Repair
>>
Overhaul
>>
Overhaul Procedures G66M-R
>>
Secondary Shaft Components Assembly
>>
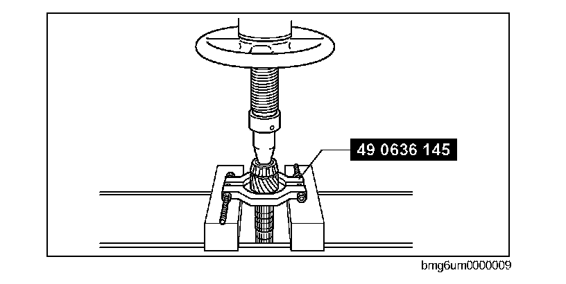
Gear Sleeve Assembly Note
Gear Sleeve Assembly Note
Gear Sleeve Assembly Note
Note:
If the secondary shaft gear replaced, install the gear sleeve the following procedures.
1.
Install the new gear sleeve using the SST.