Curiosii for ever!
: Car repair manuals for everyone.
Home
>>
Mazda
>>
2009
>>
6 L4-2.5L
>>
Repair and Diagnosis
>>
Transmission and Drivetrain
>>
Automatic Transmission/Transaxle
>>
Service and Repair
>>
Overhaul
>>
FS5A-EL Automatic Transaxle Service
>>
Direct Clutch Disassembly/Assembly
>>
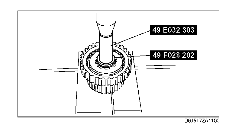
Needle Bearing Disassembly Note
Needle Bearing Disassembly Note
Needle Bearing Disassembly Note
1.
Remove the needle bearing using the SST as shown in the figure.