Curiosii for ever!: Car repair manuals for everyone.

Part 1

Assembly procedure





1. Measure the bushing of the front sun gear.

Front sun gear bushing inner diameter
Standard: 18.000-18.018 mm (0.70866-0.70936 in)
Maximum: 18.038 mm (0.71016 in)

2. If not as specified, replace the front sun gear.





3. Measure the bushing of the end cover.

End cover bushing inner diameter
Standard: 23.600-23.621 mm (0.92913-0.92995 in)
Maximum: 23.641 mm (0.93075 in)

4. If not as specified, replace the end cover.





5. Measure the bushing of the secondary sun gear.

Secondary sun gear bushing inner diameter
Standard: 26.000-26.021 mm (1.02362-1.02445 in)
Maximum: 26.041 mm (1.02524 in)

6. If not as specified, replace the secondary sun gear.





7. Assemble the SST.





8. Lift the transaxle case and mount it on the SST.

Note: If the transaxle case has been newly replaced perform step (9).

9. Install the oil pipe.





10. Install the bearing race, then tighten torx screws.

Tightening torque:
10.8-13.7 Nm (110-140 kgf-cm, 95.5-121 in. lbf.)





11. Install the bearing race to the transaxle case.





12. Install the locknut.
1) Set the primary gear.





2) Set the distance piece and bearing.





3) Loosely tighten the locknut.








4) Set the SSTs in the order shown.





5) Tighten the locknut from the end cover side to adjust the preload within the specification.

Primary gear preload:
0.50-0.90 Nm (5.10-9.17 kgf-cm, 4.42 7.96 in. lbf.)





6) Stake the locknut.
7) Remove the SST





13. Install the front internal gear and one-way clutch.
14. Apply petroleum jelly to the bearing, and secure it to the front planetary gear component.





15. Install the front planetary gear component.
16. Apply petroleum jelly to the bearing, and secure it to the front sun gear.





17. Install the front sun gear.








18. Install the rear planetary gear.

Note: Rotate the engine stand so that the oil pan faces downward. Pull the front internal gear and one-way clutch component a little until the groove for the snap ring appears, then install the snap ring.





19. Install the snap ring.
20. Rotate the engine stand so that the end cover faces upward, and verify that the snap ring is installed accurately.
21. Install the band servo component.
1) Install the servo return spring and servo piston.
2) Apply ATF to the O-ring, and install it to the transaxle case.





3) Install the servo retainer.

Tightening torque:
11-14 Nm (113-142 kgf-cm, 98-123 in. lbf.)

22. Apply petroleum jelly to the bearing, and secure it to the clutch component.





23. Install the clutch component.





24. Install the 2-4 brake band.
25. Select the band strut.
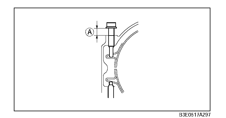
1) Find an appropriate bolt (under head length: 60-70 mm (2.36-2.75 in)), and tighten the 2-4 brake band with the bolt.

Tightening torque:
4.9 Nm (50 kgf-cm, 43 in. lbf.)





2) Measure the dimension A shown in the figure.
3) Remove the bolt.





4) Measure the dimension B shown in the figure.
5) Calculate according to the formula below.

B - A = C (The middle of the under head length)
C - 4 = D (The lower limit of under head length)
C - 4.7 = E (The upper limit of under head length)

6) Select a band strut whose length should be between D and E.

Band strut length for 2-4 brake band servo stroke (mm (in))








7) Install the selected band strut.

Tightening torque:
37-52 Nm (3.8-5.3 kgf-m, 28-38 ft. lbf.)

26. Use the following procedure to adjust the total end play.
1) Install the thickest bearing race (2.6 mm (0.102 in)) to the end cover.
2) Install the end cover to the clutch component.





3) Measure the clearance A between transaxle case and end cover.
4) Calculate according to the formulas below. Select an appropriate bearing race whose bearing thickness matches the calculated limits.

A - 2.6 mm (0.102) (Bearing thickness) = B
B - 0.25 = C (The lower limit of bearing thickness)
B - 0.50 = D (The upper limit of bearing thickness)





5) Select a bearing race whose thickness is between D mm [in) and C mm [in).

Bearing race sizes mm (in)





Caution: The bearing race and end cover may be damaged if the end cover is not installed correctly to the transaxle case. Align the projection of the bearing race within the area of the arrows shown in the figure, and then install the end cover to the transaxle case.

6) Remove the end cover, apply petroleum jelly to the selected bearing race, then install it to the end cover.





27. Apply ATF to new seal ring, and install it to the end cover.

Seal ring inner diameter
A: 47.1 mm (1.854 in)
B: 55.8 mm (2.197 in)





28. Apply a light coat of silicone sealant to the contact surfaces of the transaxle case and the end cover.
29. Apply ATF to the O-ring and install it to the transaxle case.





30. Install the end cover to the transaxle case.

Tightening torque:
19-25 Nm (1.9-2.6 kgf-m, 14-18 ft. lbf.)

31. Install the reduction brake to the transaxle case.

Note: If the transaxle case has been newly replaced perform Step (32).





32. Install the needle bearing using the SST as shown in the figure.





33. Install the spacer and one-way clutch No.2 to the transaxle case.
34. Apply ATF to new seal ring, and install it to the transaxle case.
35. Apply petroleum jelly to the needle bearing, and secure it to the transaxle case.





36. Install the direct clutch component to the transaxle case.





37. Install the secondary sun gear.





38. Install the output gear component.
39. Install the bearing race to the output gear component.
40. Apply petroleum jelly to the needle bearing, and secure it to the output gear component.
41. Use the following procedure to adjust the total end play.





1) Measure clearance A between the installation surface and the hole depth of the converter housing.
2) Install the bearing to the output gear component.
3) Measure clearance B between the converter housing installation surface and the bearing.
4) Calculate the total end play according to the following formula: step (1) value - step (3) value = total end play.
5) select the snap ring.

Adjust shim size for output gear component total end play





6) Install the selected adjustment shim to the converter housing.





42. Install the bearing using the SST as shown in the figure.

Press-in force:
8.8 kN (897 kgf, 1978 lbf.)





43. Install the pawl return spring to the transaxle case.





44. Install the packing pawl and parking pawl shaft to the transaxle case.





45. Install the pawl return spring to the parking pawl and parking pawl shaft.





46. Install the support plate to the transaxle case.





47. Install the actuator plate to the transaxle case.

Tightening torque:
11-14 Nm (113-142 kgf-cm, 98-123 in. lbf.)





48. Install the differential.
49. Install the forward clutch hub.