Curiosii for ever!: Car repair manuals for everyone.

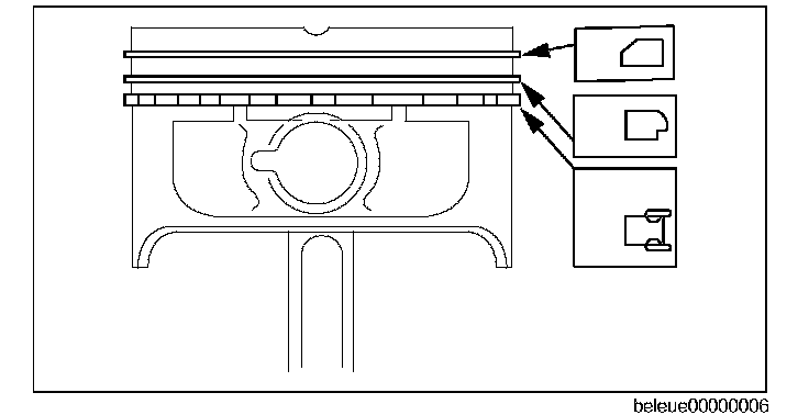
Piston Ring Assembly Note

Piston Ring Assembly Note
1. Install the two oil control ring segments and spacer.
2. Verify that the second ring is installed with scraper face side downward.
3. Verify that the top ring is installed with chamfered face side inner of upper.








4. Position the end gap of each ring as indicated in the figure.