Curiosii for ever!
: Car repair manuals for everyone.
Home
>>
Mazda
>>
2009
>>
5 L4-2.3L
>>
Repair and Diagnosis
>>
Lighting and Horns
>>
Turn Signals
>>
Combination Switch
>>
Service and Repair
>>
Overhaul
Overhaul
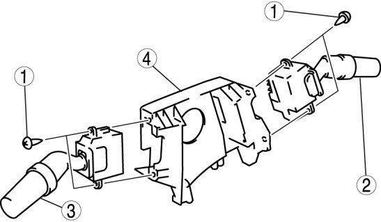
COMBINATION SWITCH
DISASSEMBLY/ASSEMBLY
1.
Disassemble in the order indicated in the table.
2.
Assemble in the reverse order of disassembly.