Curiosii for ever!: Car repair manuals for everyone.

Oil Pump: Service and Repair




OIL PUMP REMOVAL/INSTALLATION [L3]

WARNING:
- Hot engine and engine oil can cause severe burns. Turn off the engine and wait until it and the engine oil have cooled.
- A vehicle that is lifted but not securely supported on safety stands is dangerous. It can slip or fall, causing death or serious injury. Never work around or under a lifted vehicle if it is not securely supported on safety stands.
- Continuous exposure to USED engine oil has caused skin cancer in laboratory mice. Protect your skin by washing with soap and water immediately after working with engine oil.

1. Remove the battery cover. Removal and Replacement

2. Disconnect the negative battery cable.

3. Remove the under cover and splash shield as a single unit.

4. Remove the front tire (RH).

5. Drain the engine oil. Service and Repair

6. Remove the plug hole plate. Service and Repair

7. Remove the drive belt. Service and Repair

8. Position the coolant reserve tank out of the way.

9. Remove the A/C compressor with the pipes still connected. Service and Repair

10. Remove the ignition coils. Service and Repair

11. Remove the crankshaft position (CKP) sensor. Service and Repair

12. Remove the engine front cover. Service and Repair

13. Remove the oil pan. Service and Repair

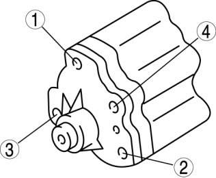
14. Remove in the order indicated in the table.

15. Install in the reverse order of removal.

16. Refill the specified type and amount of the engine oil. Service and Repair

17. Start the engine and confirm that there is no oil leakage.

- If there is oil leakage, repair or replace the applicable part.

18. Inspect the oil level. Testing and Inspection

19. Inspect for the ignition timing and idle speed. Testing and Inspection










Oil Pump Sprocket Removal/Installation Note

1. Temporarily install the crankshaft pulley and crankshaft pulley lock bolt to the crankshaft, and lock the oil pump against rotation as shown in figure.






2. Remove/install the oil pump sprocket, and then remove the crankshaft pulley and crankshaft pulley lock bolt as shown in figure.






Tightening torque:
1 20-30 Nm {2.1-3.0 kgf-m, 14.8-22.1 ft-lbf}

Oil Pump Installation Note

1. Tighten the oil pump bolts in two steps in the order indicated in the figure.






Tightening torque:
1 1. 8-12 Nm {82-122 kgf-cm, 71-105 in-lbf}
2 2. 17-23 Nm {1.8-2.3 kgf-m, 12.6-16.9 ft-lbf}