Curiosii for ever!: Car repair manuals for everyone.

Leak Detection Pump: Testing and Inspection




EVAPORATIVE EMISSION (EVAP) SYSTEM LEAK DETECTION PUMP INSPECTION [LF, L3]

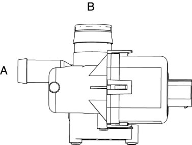
Airflow Inspection

NOTE:
- Perform the following test only when directed.

1. Remove the EVAP system leak detection pump. Service and Repair

2. Blow air into port A and verify that there is airflow from port B.

- If not as specified, replace the EVAP system leak detection pump. Service and Repair






3. Blow air into port B and verify that there is airflow from port A.

- If not as specified, replace the EVAP system leak detection pump. Service and Repair
- If as specified, perform the following "Resistance Inspection".

Resistance Inspection

NOTE:
- Perform the following procedure only when directed.

1. Inspect resistance of the EVAP system leak detection pump.

- If not as specified, replace the EVAP system leak detection pump. Service and Repair
- If as specified, carry out the "Circuit Open/Short Inspection".









*1
California emission regulation applicable model and except for California emission regulation applicable model with LF MTX, L3
*2
Except for California emission regulation applicable model with LF ATX

Circuit Open/Short Inspection

1. Disconnect the PCM connector. Service and Repair

2. Inspect the following wiring harness for open or short circuit (continuity check).






Open circuit
- If there is no continuity, there is an open circuit. Repair or replace the wiring harness.

- EVAP system leak detection pump terminal C and PCM terminal 1V*1, 1AJ*2
- EVAP system leak detection pump terminal D and PCM terminal 1U*1, 1AF*2
- EVAP system leak detection pump terminal A and main relay terminal A
- EVAP system leak detection pump terminal B and the body ground

Short circuit
- If there is continuity, there is a short circuit. Repair or replace the wiring harness.

- EVAP system leak detection pump terminal A and the body ground
- EVAP system leak detection pump terminal B and power supply
- EVAP system leak detection pump terminal C and power supply
- EVAP system leak detection pump terminal D and power supply

*1
California emission regulation applicable model and except for California emission regulation applicable model with LF MTX, L3
*2
Except for California emission regulation applicable model with LF ATX