Curiosii for ever!
: Car repair manuals for everyone.
Home
>>
Mazda
>>
2008
>>
6 L4-2.3L
>>
Repair and Diagnosis
>>
Heating and Air Conditioning
>>
Blower Motor Resistor
>>
Testing and Inspection
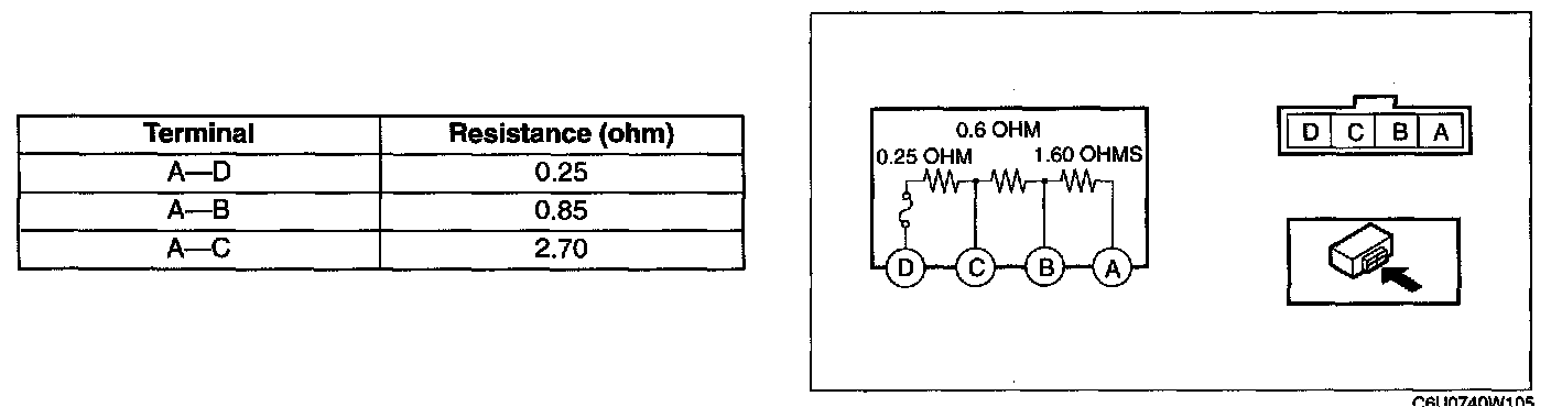
Blower Motor Resistor: Testing and Inspection
RESISTOR INSPECTION
1.
Verity that the resistance between the terminals of the resistor is as shown in the table.
-
If not as specified, replace the resistor.