Curiosii for ever!
: Car repair manuals for everyone.
Home
>>
Mazda
>>
2007
>>
3 L4-2.3L
>>
Repair and Diagnosis
>>
Lighting and Horns
>>
Cargo Lamp
>>
Testing and Inspection
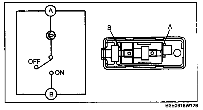
Cargo Lamp: Testing and Inspection
CARGO COMPARTMENT LIGHT INSPECTION
1.
Verify that the continuity between the cargo compartment light terminals is as indicated in the table.
-
If not as indicated in the table, replace the cargo compartment light.