Curiosii for ever!: Car repair manuals for everyone.

Front Door Window Motor: Testing and Inspection

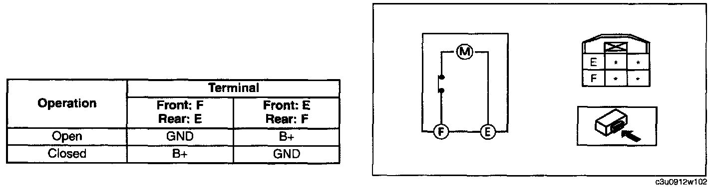
POWER WINDOW MOTOR INSPECTION






1. Apply battery positive voltage and connect ground to power window motor terminals E and F, and then inspect the power window motor operation.
- If the power window motor does not operate as indicated in the table, replace it.