Curiosii for ever!: Car repair manuals for everyone.

Control Valve Body Installation

CONTROL VALVE BODY INSTALLATION

On-Vehicle Installation





Caution: Be sure to align the parking rod and the manual valve.








1. Install the accumulator springs and accumulators into the transaxle case.





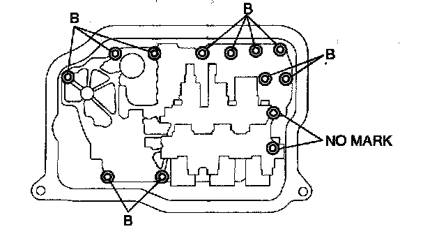
2. Install the control valve body component.
Tightening torque 7.8 - 10.8 Nm (80 - 110 kgf-cm, 69.5 - 95.4 inch lbs.)
Bolt length (measured from below the head)
Mark B: 40 mm (1.575 inch)
No mark: 70 mm (2.756 inch)
3. Install the oil strainer.





4. Match the harness colors, then connect the solenoid connectors and GND, and install the TFT sensor.





5. Apply a light coat of silicon sealant (TB1 21713) to the contact surfaces of the oil pan and transaxle case.
6. Install the oil pan.
Tightening torque 6 - 8 Nm (62 - 81 kgf-cm, 53 - 70 inch lbs.)
7. Install the under cover.
8. Connect the negative battery cable.
9. Install the battery duct and battery cover.
10. Add ATF and with the engine idling, inspect the ATF level.
11. Perform the mechanical system test.