Curiosii for ever!: Car repair manuals for everyone.

Brake Pedal Assy: Service and Repair

BRAKE PEDAL REMOVAL/INSTALLATION

Caution:
^ The clearance between the brake switch and the brake pedal is automatically adjusted to the correct amount when the brake switch is inserted into the installation hole on the brake pedal, and rotated to fix in place. If the brake switch is not properly installed, the clearance may be incorrect, causing a brake light malfunction. Therefore, always verify that the brake pedal is properly installed and fully released before installing the brake switch to the pedal.
^ Once the brake switch clearance has automatically been adjusted, it cannot be adjusted again. Therefore, replace the switch with a new one when replacing the power brake unit or the pedal, or performing any procedure that changes the pedal stroke.

1. Remove the battery and battery tray.
2. Disconnect the brake pipe (master cylinder side).
3. Remove the accelerator pedal.
4. Remove in the order indicated in the table.





5. Install in the reverse order of removal.

Brake Pedal Removal Note
1. Remove the brake pedal installation bolts and nuts.
2. Move the power brake unit to the vehicle front where the power brake unit fork does not interfere with the brake pedal arm.
3. Remove the brake pedal.

Joint Pin Installation Note
1. Install the new joint pin by aligning the pin holes of the brake pedal and power brake unit fork.





2. Verify that the joint pin touches the power brake unit fork completely.

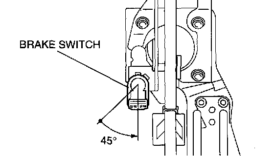
Brake Switch Installation Note
1. Inspect the brake pedal.
2. With the brake pedal fully released, insert a new brake switch into the installation hole on the brake pedal.





3. Secure the brake switch by turning it counterclockwise 450.