Curiosii for ever!: Car repair manuals for everyone.

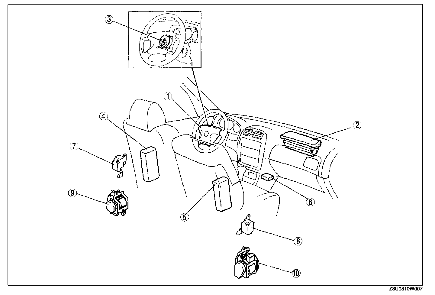
Component Locations

LOCATION INDEX

Air Bag System Location Index:




1. Driver-side air bag module
2. Passenger-side air bag module
3. Clock spring
4. Driver-side side air bag module
5. Passenger-side side air bag module
6. SAS control module
7. Driver-side side air bag sensor
8. Passenger-side side air bag sensor
9. Driver-side pre-tensioner seat belt
10. Passenger-side pre-tensioner seat belt