Curiosii for ever!: Car repair manuals for everyone.

Crankshaft Position Sensor: Testing and Inspection

CRANKSHAFT POSITION SENSOR INSPECTION

Inspection of Resistance

1. Disconnect the battery negative cable.
2. Disconnect the crankshaft position sensor connector.




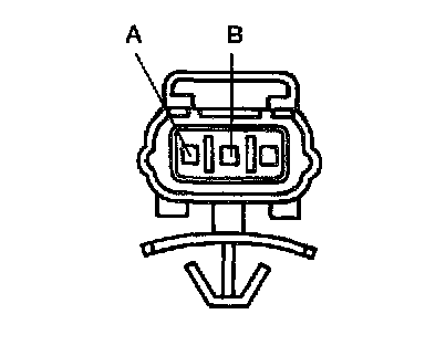
3. Measure the resistance between terminals A and B by using an ohmmeter.
- If not as specified, check related wiring harness. If they are okay, replace the crankshaft position sensor.

Specification: Approx. 550 Ohms

Inspection of Air Gap

1. Verify that the crankshaft position sensor is installed correctly and securely.




2. Measure the air gap between the crankshaft pulley teeth and the crankshaft position sensor using a feeler gauge.
- If not as specified, replace the crankshaft pulley or the crankshaft position sensor.

Specification: 0.5 - 1.5 mm {0.02 - 0.059 in}