Curiosii for ever!
: Car repair manuals for everyone.
Home
>>
Mazda
>>
2001
>>
MX-5 Miata L4-1.8L DOHC
>>
Repair and Diagnosis
>>
Powertrain Management
>>
Ignition System
>>
Testing and Inspection
>>
Oscilloscope Patterns and Waveforms
>>
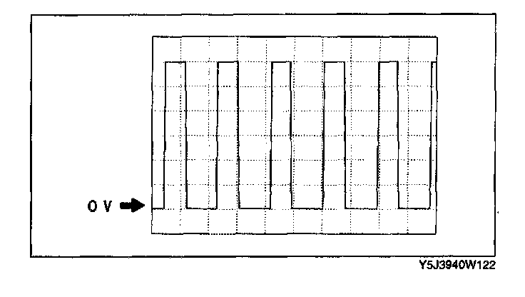
Engine Speed Signal
Engine Speed Signal
Engine speed signal
-
PCM terminal: 3O (+) <-> 4A (-)
-
Oscilloscope setting:
2.0 V
/DIV(Y),
20 ms
/DIV(X), DC range
-
Vehicle condition: Idle