Curiosii for ever!
: Car repair manuals for everyone.
Home
>>
Mazda
>>
2001
>>
626 ES V6-2.5L DOHC
>>
Repair and Diagnosis
>>
Powertrain Management
>>
Computers and Control Systems
>>
Fuel Tank Pressure Sensor
>>
Description and Operation
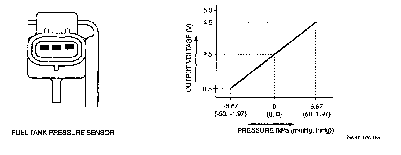
Fuel Tank Pressure Sensor: Description and Operation
-
The
fuel tank pressure sensor
converts pressure into electric signals by using the piezo-electric effect of the semi-conductor.