Curiosii for ever!: Car repair manuals for everyone.

Camshaft Position Sensor: Testing and Inspection




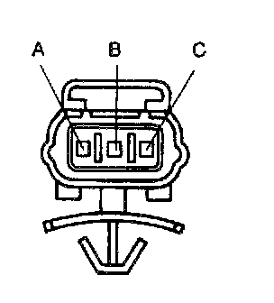
1. Disconnect the camshaft position sensor connector.
2. Measure the resistance between terminals A and B by using an ohmmeter.
- If not as specified, check related wiring harness.
- If they are okay, replace the camshaft position sensor.

Specification: Approx. 550 ohms