Curiosii for ever!: Car repair manuals for everyone.

Alarm Module: Service and Repair

IMMOBILIZER UNIT REMOVAL/INSTALLATION

1. Disconnect the negative battery cable.
2. Remove the driver's side side panel.
3. Remove the lower panel.




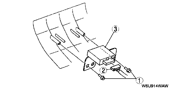
4. Remove in the order as indicated below.
1. Bolt
2. Connector
3. Immobilizer unit

5. Install in the reverse order of removal.

CAUTION: After replacing the immobilizer unit with a new one, the engine cannot be started without reprogramming the ID number of the keys and the code word of the new immobilizer unit. Input the ID number and code word. (See IMMOBILIZER SYSTEM REPROGRAMMING PROCEDURE.)