Curiosii for ever!: Car repair manuals for everyone.

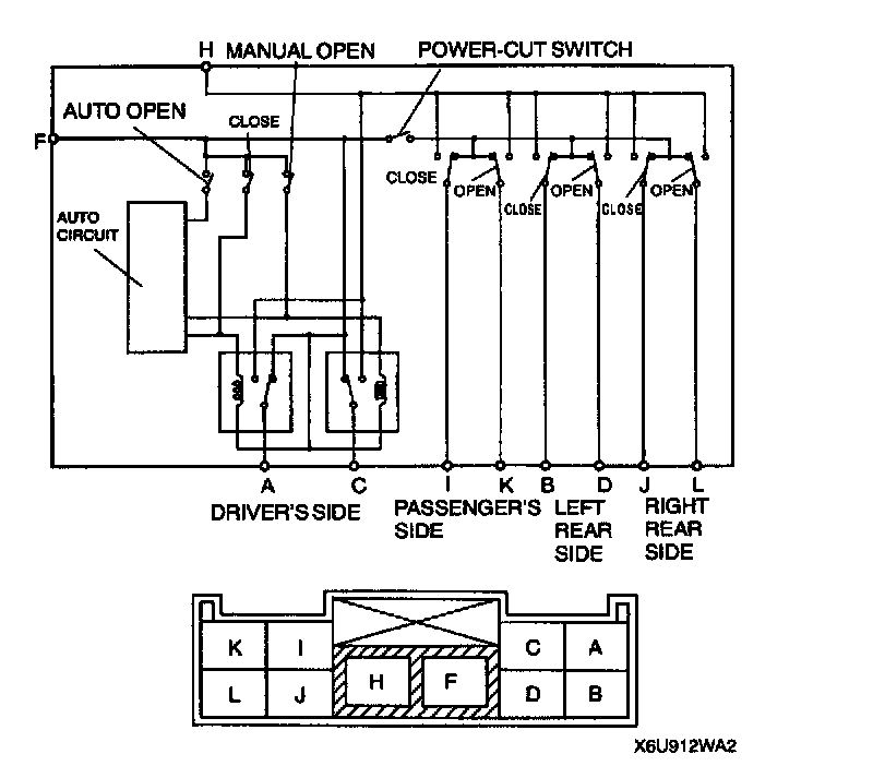
Power Window Main Switch

1. Disconnect the negative battery cable.
2. Remove the driver's side front door trim.
3. Inspect for the continuity between the power window main switch terminals by using an ohmmeter.







4. When checking the driver's side window switch, connect the B+ to terminal H and connect the ground to the terminal F.
- If not as specified, replace the power window main switch.