Curiosii for ever!: Car repair manuals for everyone.

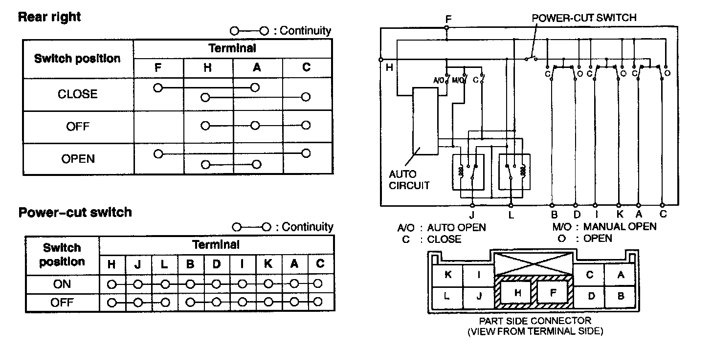
Power Window Main Switch

1. Remove the power window main switch.
2. When inspecting the passenger's side and the rear, turn the power-cut switch to ON.

Driver's Side:




Passenger's Side:




Rear Left:







3. Inspect for continuity between the power window main switch terminals using an ohmmeter.
- If not as specified, replace the power window main switch.