Curiosii for ever!: Car repair manuals for everyone.

Back Window Glass: Service and Repair

REMOVAL

1. Remove the headliner.




2. Apply protective tape along the edge of body to protect it from damage.

WARNING: Using a razor with bare hands can cause Injury. Always wear gloves when using a razor.

NOTE: The rear window molding is a replacement part.




3. Remove the lip of the rear window molding using a razor.

Not Reusing Rear Window Glass

NOTE: For the areas of the sealant that are difficult to cut, use a SST (piano wire) and follow the procedures under "Reusing rear window glass".

1. Use a tool like that shown in the figure, and insert the blade into the sealant.




2. Pull through the sealant around the edge of the glass.
3. Remove the glass.

Reusing Rear Window Glass

NOTE: Before removing the rear window glass from the body, mark the position of the rear window glass by affixing tape to the windshield and body panel.




1. Use an awl to saw through the sealant, except where there are fasteners and spacers, from the inside of the vehicle.

WARNING: Using piano wire with bare hands can cause Injury. Always wear gloves when using piano wire.




2. Pass the SST (piano wire) through the hole.
3. Wind each end of the wire around a bar.

NOTE: Use a long sawing action to spread the work over the whole length of the SST (piano wire) to prevent it from breaking.




4. Working with another person, saw through the sealant around the edge of the glass, being careful not to damage the body.
5. Remove the rear window glass.




6. Remove the spacers and fasteners.
7. Remove the rear window molding from the rear window glass.

INSTALLATION

WARNING: Using a razor with bare hands can cause injury. Always wear gloves when using a razor.

CAUTION: To prevent the sealant from cracking or the glass from being pushed out by air pressure if a door is closed, open all of the windows and leave them open until the sealant has hardened.




1. Cut away the old sealant using a razor so that 1 - 2 mm {0.04 - 0.07 in} thickness of sealant remains around the circumference of the frame.
- If all the sealant has come off in any one place, apply some primer after degreasing, and allow it 30 minutes to dry. Then put on new sealant to create a 2 mm {0.08 in} layer.

2. Clean and degrease an approximately 50.0 mm {1 .97 in} wide strip around the circumference of the glass and the bonding area on the body.
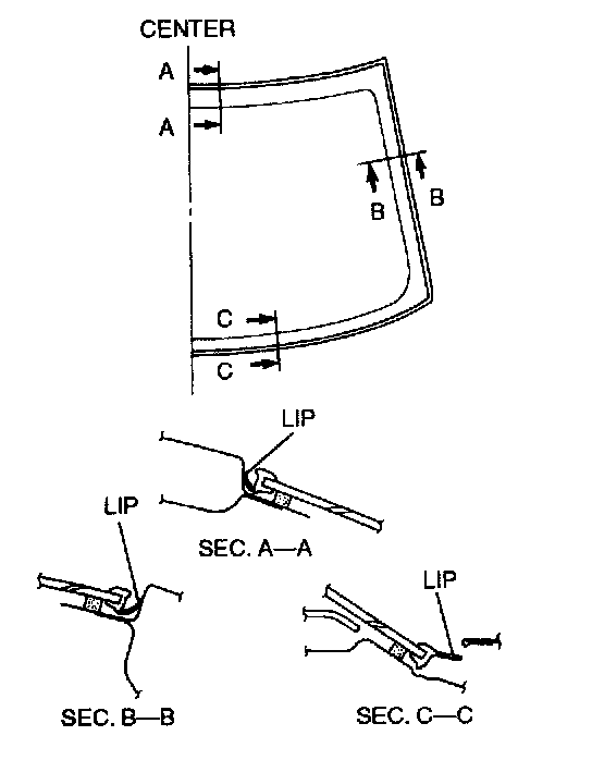
3. Align the lower corners of the molding and glass. (1)
4. Install the lower, starting from the outer ends and moving inward. (2)
5. Align the marking of the molding with the ceramic parting line on the glass. (3)




6. Install the sides and upper, starting from the lower edge and moving upward and inward, being careful not to pull out the corners. (4)




7. Securely bond a dam on the lower side of the glass 14.5 mm {0.571 in} from the edge.
8. Install spacers into the hole.
9. Temporarily install the glass onto the body and adjust the glass-to-body clearance.
10. Make a marks on the glass directly above the V-notch of spacers.




11. Verify that the gap along the upper and side edge is 8.8 mm {0.35 in}.
12. Remove the windshield.




13. Install the fasteners on the body as shown.




14. install the fasteners and spacers onto the glass as shown.

CAUTION: Keep the area free of dirt and grease, and do not touch the surface or the primer may not properly bond to the surface of the glass and body, which may cause leaks to occur.




15. Use a brush to apply primer to the bonding area of the glass and body within the region shown.

NOTE: Use only glass primer on the glass, and body primer on the body and molding. Allow it to dry for approximately 30 minutes.




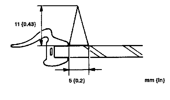
16. Once the primer is dry, apply sealant measuring 11.0 mm {0.433 in} in height and 5.0 mm {0.20 in} in width around the entire circumference to fill the gap between the dam and the edge of the glass.
17. Align the marks on the glass with the V-notches in spacers and install the glass onto the body.
18. Press firmly inward on the glass to compress the sealant.

Hardening Time Of Sealant:




19. Verify that the gap along the upper and side edge is 8.8 mm {0.35 in}.
20. Install the headliner.