Curiosii for ever!: Car repair manuals for everyone.

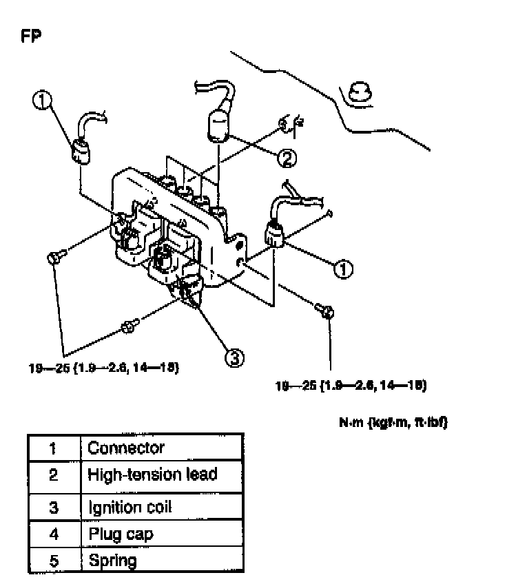
Ignition Coil: Service and Repair

CAUTION: Disconnecting the ignition coil and plug cap can tear the plug cap off and cause damage to the connecting part. Disconnect the ignition coil and plug cap only when each component needs to be replaced, and be careful not to tear and damage them.

1. Disconnect the negative battery cable.

ZM/1.6L:




FP/1.8L:




2. Remove in the order indicated in the table.
3. Install in the reverse order of removal.